elektrické zapojení otočného stolu Stanko

Odpovědět
model
Příspěvky: 12
Registrován: 25. 11. 2013, 12:13

24. 4. 2015, 10:21

Zdravím všechny šikovné lidi,

potřeboval bych radu ohledně zapojení otočného stolu, tak aby pokud možno fungoval.
Vše je popsané vč. nějakých fotek zde http://www.c-n-c.cz/viewtopic.php?f=108&t=16936" onclick="window.open(this.href);return false;.
Mám nějakou doměnku na co to zařízení ve stole je, ale netuším protože elektronice zase až
tolik nerozumím zda to tak skutečně je. Do přívodní zdířky 12 pinové jdou jenom 4 kabely, tzn.
asi + , GND a to ostatní nevím,ale stůl je z ruské souřadnicové vrtačky, tak možná nějaká zpětná vazba
na displej k vrtačce ? Napájecí napětí taky netuším 12, 24 V ?
Byl bych velmi rád, kdyby se tady našla nějaká dobrá duše, která tomu rozumí, nebo se tím někdy setkala
a dovedla poradit případně něco věcného zdělit.

Děkuji za všechny reakce
Uživatelský avatar
robokop
Site Admin
Příspěvky: 23058
Registrován: 10. 7. 2006, 12:12
Bydliště: Praha
Kontaktovat uživatele:

25. 4. 2015, 7:51

To je jen analogove elektronicke odmerovani
signal neco jako resolver
byva to docela presne
Vsechna prava na chyby vyhrazena (E)
model
Příspěvky: 12
Registrován: 25. 11. 2013, 12:13

25. 4. 2015, 11:02

Tak to je asi to co jsem si myslel ,a jak to zprovoznit by jsi prosímtě nevěděl?
Uživatelský avatar
robokop
Site Admin
Příspěvky: 23058
Registrován: 10. 7. 2006, 12:12
Bydliště: Praha
Kontaktovat uživatele:

26. 4. 2015, 6:54

Tusim ze jo ale je to asi neekonomicke
Vsechna prava na chyby vyhrazena (E)
model
Příspěvky: 12
Registrován: 25. 11. 2013, 12:13

26. 4. 2015, 6:49

???????? o jaké částce se odhadem asi bavíš? Předpokládám tedy že by se asi muselo něco dokoupit, nebo dodělat.
Uživatelský avatar
robokop
Site Admin
Příspěvky: 23058
Registrován: 10. 7. 2006, 12:12
Bydliště: Praha
Kontaktovat uživatele:

26. 4. 2015, 7:43

jako zakazka strilim od boku tak 30 000,-
Vsechna prava na chyby vyhrazena (E)
model
Příspěvky: 12
Registrován: 25. 11. 2013, 12:13

26. 4. 2015, 9:27

No to je ranec, to jsem netušil až jsem vyprsklnul kafe na monitor :shock: .
Tak nějak jsem doufal že to co je ve stolu funguje jako samostaný celek + třeba Dc napájení.
milan584
Příspěvky: 2127
Registrován: 12. 5. 2009, 2:17
Bydliště: na jihu

26. 4. 2015, 11:12

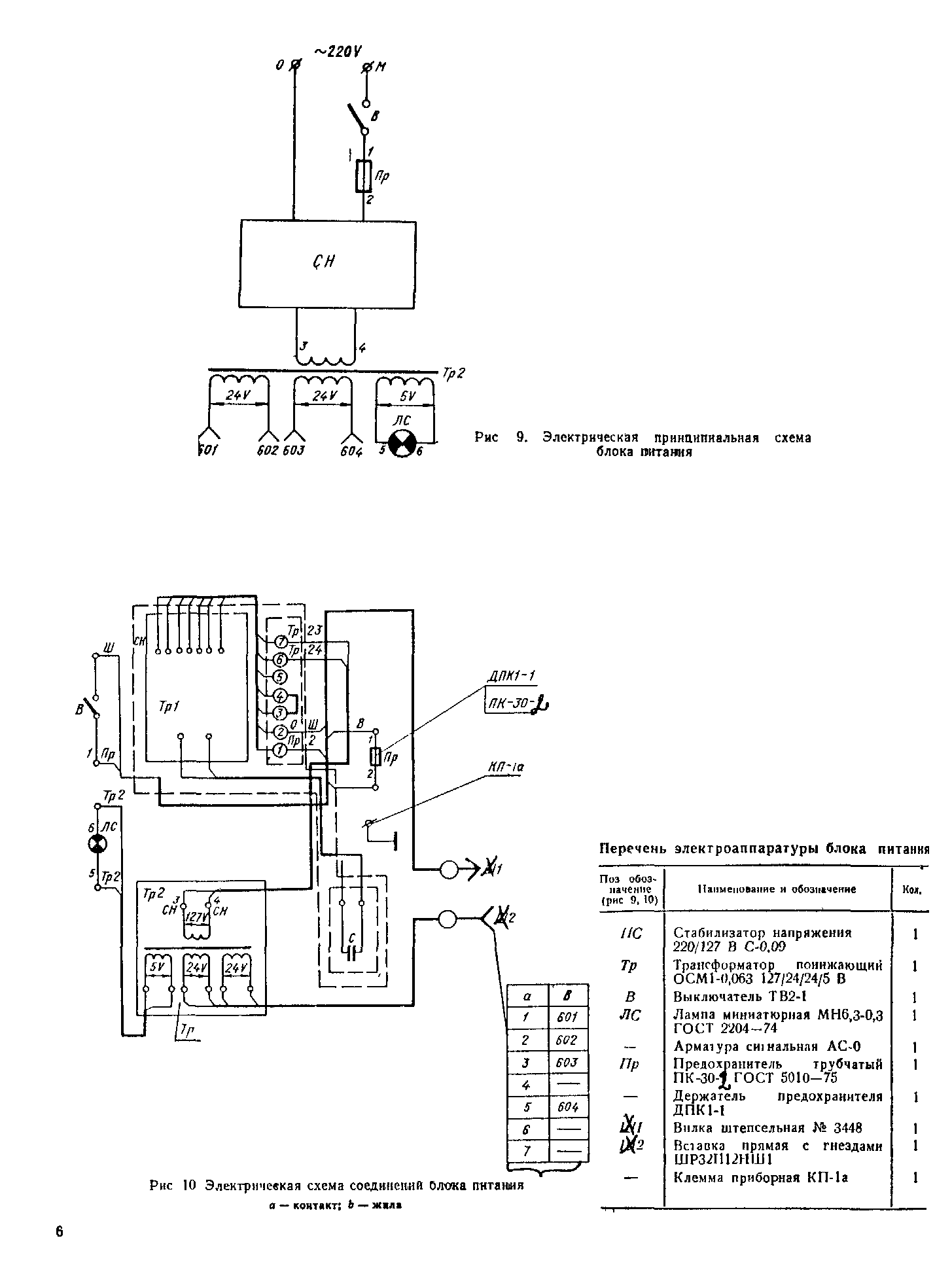
7.png
6.png
5.png
testone
Sponzor fora
Příspěvky: 7424
Registrován: 3. 12. 2010, 5:56
Bydliště: Slaný

27. 4. 2015, 6:21

model píše:No to je ranec, to jsem netušil až jsem vyprsklnul kafe na monitor :shock: .
Tak nějak jsem doufal že to co je ve stolu funguje jako samostaný celek + třeba Dc napájení.
ono to funguje jako samostatný celek, tj. zařízení dávající informaci o poloze
jen vzhledem k době svého vzniku to jaxi neodpovídá dnešním standardům a představám, proto by asi bylo třeba vytvořit nějaký převodník, který informaci lezoucí z toho dnes nepoužívaného snímače přežvýká do třeba TTL úrovní které zobrazí jakýkoli komerčně sériově za levno vyráběný zobrazovač
jinými slovy máš představu, že vezmeš zázračnou krabičku, nastrkáš do ní konektory a hotovo
to co by ta krabička měla umět, byla v době vzniku toho stolu úloha pro výzkumný ústav
můžeš to taky vytrhat, koupit od Heidenhainů a pod. rotační optické pravítko, zabudovat ho tam a pak to bude mít dnešní plug-in rozhraní
......
to co je v tom stole, má jednu obrovskou výhodu - existuje k tomu dokumentace
zapátrej v Rusku - třeba to tam někdo řešil
Obvykle se dějí věci obvyklé. Méně často se dějí věci neobvyklé a zcela vyjímečně se dějí věci vyjímečné...
Masturn 40 CNC, Hermle UWF1200H CNC a pár klasik
http://www.radialengine.cz" onclick="window.open(this.href);return false;
http://www.autopejsek.cz" onclick="window.open(this.href);return false;
model
Příspěvky: 12
Registrován: 25. 11. 2013, 12:13

28. 4. 2015, 7:49

Stačí mě i analogové zobrazování podle socialistických standardů :D hlavně že to bude fungovat, nemám to na obživu je to můj koníček,
nepotřebuju displej se zobrazováním na tisíciny, jen by se mě líbilo že to funguje, kor když je ten stůl nepoužívanej.
To schéma je super s tím se dá už něco dělat nevypadá to tak hrozně, děkuju moc : milan584 .
Odkud jsi prosímtě čerpal ty skeny? máš návod nebo z internetu.
Zatím děkuju moc kluci za každý názor a radu.
Odpovědět

Zpět na „Ostatní elektronika“