Popisovac na radeko

kdyz nebudes vedet kam to dat tak to napis sem, admin to za tebe umisti nebo vytvori novou sekci
testone
Sponzor fora
Příspěvky: 7541
Registrován: 3. 12. 2010, 5:56
Bydliště: Slaný

6. 11. 2022, 9:15

Tom Dvk píše: 6. 11. 2022, 7:14 Upřímně řečeno, celkem by mě to zajímalo ... nikdy jsem ho nikde neviděl a to ani náznakem. Má ho někdo ? :D
mám tohle
https://www.kutil.cz/elektricke-naradi/ ... e=zbozi.cz
funguje to dobře
8 hodin v kuse tím psát nelze, upadla by ti ruka
mám to asi 5 let (??), nemůžu se zbavit dojmu, že tenkrát to stálo asi 2k
Obvykle se dějí věci obvyklé. Méně často se dějí věci neobvyklé a zcela vyjímečně se dějí věci vyjímečné...
Masturn 40 CNC, Hermle UWF1200H CNC a pár klasik
http://www.radialengine.cz" onclick="window.open(this.href);return false;
http://www.autopejsek.cz" onclick="window.open(this.href);return false;
Tom Dvk
Příspěvky: 629
Registrován: 24. 7. 2018, 1:08

7. 11. 2022, 5:23

Jo, ruční mám taky, staré klasické z dob socializmu (vlastně spíš ještě z dob třetí říše). Ale zajímala by mě ta hlava na strigona, tu jsem nikde nezahlédl.
Uživatelský avatar
fmodel
Příspěvky: 10255
Registrován: 26. 10. 2011, 10:37
Kontaktovat uživatele:

7. 11. 2022, 8:58

Potřebuješ vědet jak vypadá? nebo jí sháníš ?Pokud ti stačí fotka tak můžu zavolat kámošovi co tam zůstal .
http://www.rm-reznicek.cz" onclick="window.open(this.href);return false;
lubbez
Příspěvky: 3466
Registrován: 21. 6. 2012, 9:26
Bydliště: Praha

7. 11. 2022, 10:57

Než jsem si pořídil svůj vlastní laser, tak jsem si díly nechával popisovat v jedné reklamce a i před těmi cca 10 lety to stálo pakatel
Tom Dvk
Příspěvky: 629
Registrován: 24. 7. 2018, 1:08

7. 11. 2022, 11:06

fmodel píše: 7. 11. 2022, 8:58 Potřebuješ vědet jak vypadá? nebo jí sháníš ?Pokud ti stačí fotka tak můžu zavolat kámošovi co tam zůstal .
Nesháním ji, spíš pro zajímavost jsem ji chtěl vidět. Fotka by byla super, pokud to není nějaký velký problém. Děkuji ...
Uživatelský avatar
fmodel
Příspěvky: 10255
Registrován: 26. 10. 2011, 10:37
Kontaktovat uživatele:

7. 11. 2022, 12:01

Volal jsem mu a smůla ,před půl rokem to odvezl komplet nějakej obchodník .
http://www.rm-reznicek.cz" onclick="window.open(this.href);return false;
servis4sp
Příspěvky: 708
Registrován: 26. 11. 2018, 1:07
Kontaktovat uživatele:

7. 11. 2022, 2:26

kdyby někdo chtět tak mám jeden jiskrový popisovač volný😉
sv18ra, KSU250, 2N118, SH-700A, FA3AU, tos 1U, gh450, R5, FN40, HJ8, WKV63
Uživatelský avatar
stanik84
Příspěvky: 2654
Registrován: 3. 8. 2016, 9:29

7. 11. 2022, 3:37

servis4sp píše: 7. 11. 2022, 2:26 kdyby někdo chtět tak mám jeden jiskrový popisovač volný😉
Sz
Tom Dvk
Příspěvky: 629
Registrován: 24. 7. 2018, 1:08

7. 11. 2022, 5:01

Vyfoť ho prosím. :wink:
DaDo1114
Příspěvky: 21
Registrován: 10. 10. 2022, 8:39

7. 11. 2022, 5:08

Dakujem pekne za cenne rady.

Dneska som to vyskusal popisat fortunkou a na moje pouzitie je to postacujuce a bol som z toho,ze to funguje milo prekvapeny. Sice ta frezka v tej fortunke je jedna z tych drahsich,ale hlavne ze to do toho radeka ide.
Přílohy
20221107_173428.jpg
20221107_173616.jpg
20221107_173650.jpg
Uživatelský avatar
packa
Příspěvky: 7159
Registrován: 7. 2. 2007, 6:42
Bydliště: Královehradecký kraj

7. 11. 2022, 5:16

frézy je docela škoda , zkus to brusným tělískem .
servis4sp
Příspěvky: 708
Registrován: 26. 11. 2018, 1:07
Kontaktovat uživatele:

7. 11. 2022, 8:36

stanik84 píše: 7. 11. 2022, 3:37
servis4sp píše: 7. 11. 2022, 2:26 kdyby někdo chtět tak mám jeden jiskrový popisovač volný😉
Sz
20221107_211842.jpg
20221107_212642.jpg
https://youtu.be/vW9i6aBvMaI
sv18ra, KSU250, 2N118, SH-700A, FA3AU, tos 1U, gh450, R5, FN40, HJ8, WKV63
Tom Dvk
Příspěvky: 629
Registrován: 24. 7. 2018, 1:08

9. 11. 2022, 12:55

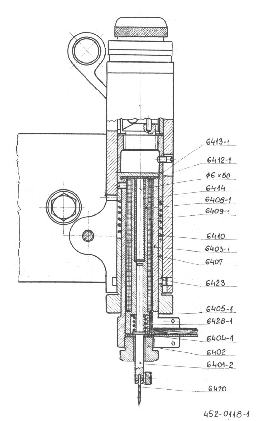
A já jsem se těšil, že uvidím hlavu na Strigona. :D
zverodoktor
Příspěvky: 3686
Registrován: 3. 6. 2007, 9:49
Bydliště: Bratislava

9. 11. 2022, 5:46

DaDo1114 píše: 7. 11. 2022, 5:08 Dneska som to vyskusal popisat fortunkou a na moje pouzitie je to postacujuce a bol som z toho,ze to funguje milo prekvapeny. Sice ta frezka v tej fortunke je jedna z tych drahsich,ale hlavne ze to do toho radeka ide.
Ja som na to kúpil za pár drobných balík diamantových guľatých zubných brúsok z číny a ide to skvele.
Takéto:
https://www.aliexpress.com/item/1005004 ... xVeWBP6AlB
SU32, MN80, FN25, ISEL4433, Jakobsen SJ25, N1, VS16, Anycubic Kossel
Sancho Panza
Příspěvky: 1240
Registrován: 6. 3. 2021, 12:50

10. 11. 2022, 5:36

Tom Dvk píše: 9. 11. 2022, 12:55 A já jsem se těšil, že uvidím hlavu na Strigona. :D
054.png
Odpovědět

Zpět na „kdyz nebudes vedet kam“