Nožový držák Deckel

Odpovědět
Uživatelský avatar
tumlik
Sponzor fora
Příspěvky: 3770
Registrován: 19. 12. 2007, 8:20
Bydliště: já su z Moravskej :-)
Kontaktovat uživatele:

15. 4. 2023, 9:55

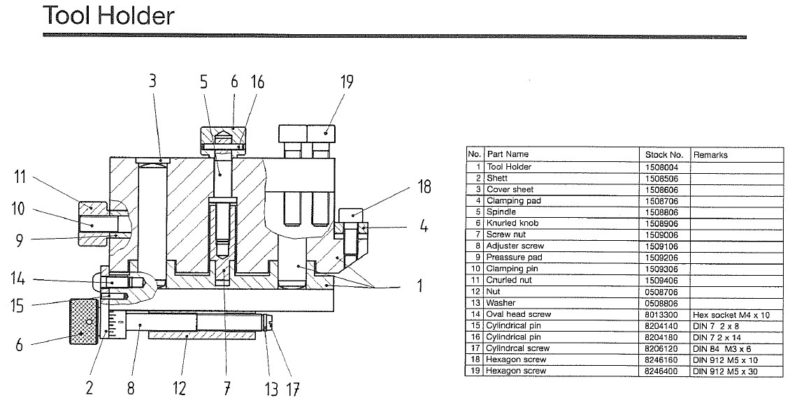
neměl by někdo tento držák k bruskám deckel S0, S0E fyzicky? chtěl jsem si ho udělat, ale z obrázku moc nechápu princip, teda v řezu vidím, že se to dá zvednout (ale není mně jasné proč) a k čemu jsou položky 9,10,11 a 4,18
bohužel mám jen obrázek a řez, předpokládám, že šroubem 5 se ladí výška už upnutého nože a 9,10,11 jen utahuje onu pozici, ale nejsem si tím úplně jistej :)
díkec :D
držák nožů.jpg
Lathe-Toolholder2.jpg
s-l500.jpg
http://www.tumlikovo.cz/
Popularizační web nástrojařství a kovoobrábění
qwer
Příspěvky: 1400
Registrován: 8. 4. 2008, 8:09

15. 4. 2023, 11:08

Tipol bych si, že ta skrutka č. 18 ja na upnutie nejakého dorazu na opakované upínanie. A to naľavo ako píšeš- asi aretácia výškového nastavenia, ale z toho rezu som teda moc múdri neni :?
Uživatelský avatar
tumlik
Sponzor fora
Příspěvky: 3770
Registrován: 19. 12. 2007, 8:20
Bydliště: já su z Moravskej :-)
Kontaktovat uživatele:

16. 4. 2023, 9:45

qwer píše: 15. 4. 2023, 11:08 Tipol bych si, že ta skrutka č. 18 ja na upnutie nejakého dorazu na opakované upínanie. A to naľavo ako píšeš- asi aretácia výškového nastavenia, ale z toho rezu som teda moc múdri neni :?
nedalo mně to a nakreslil to, beru to jen z řezu a rozměry jsou podle něj vytažené jako podnos skici + cca co jsem odkoukal z fotky (jiné jsem nenašel). upínat jde ale jen jedno to stavítko klasicky přes vybraný čep, druhé stavítko aretované být nemůže (zavazí ta br. matice), ta bronzová matice musí být takto a na spodní straně je vybrání aby se neprotáčela a jen to vyjíždí nahoru dolů, ale proč to je takto složité na to nemůžu dojít :roll:
ještě mně napadlo, že to prostě jde povolit, vytáhnout, lupnout na magnetku, snížit atp a pak zas upnout, ale proč ty drážky?? žádnej měřící nebo upínací přípravek se k tomu se nedělal.....
a nebo je to klasika, udělat to tak složitý, aby si to dotyčnej zájemce za těch 1500 éček koupil :)
princip upnutí.JPG
princip upnutí 2.JPG
princip upnutí 3.JPG
http://www.tumlikovo.cz/
Popularizační web nástrojařství a kovoobrábění
Sancho Panza
Příspěvky: 1060
Registrován: 6. 3. 2021, 12:50

16. 4. 2023, 11:17

tumlik píše: 16. 4. 2023, 9:45
qwer píše: 15. 4. 2023, 11:08 Tipol bych si, že ta skrutka č. 18 ja na upnutie nejakého dorazu na opakované upínanie. A to naľavo ako píšeš- asi aretácia výškového nastavenia, ale z toho rezu som teda moc múdri neni :?
nedalo mně to a nakreslil to, beru to jen z řezu a rozměry jsou podle něj vytažené jako podnos skici + cca co jsem odkoukal z fotky (jiné jsem nenašel). upínat jde ale jen jedno to stavítko klasicky přes vybraný čep, druhé stavítko aretované být nemůže (zavazí ta br. matice), ta bronzová matice musí být takto a na spodní straně je vybrání aby se neprotáčela a jen to vyjíždí nahoru dolů, ale proč to je takto složité na to nemůžu dojít :roll:
ještě mně napadlo, že to prostě jde povolit, vytáhnout, lupnout na magnetku, snížit atp a pak zas upnout, ale proč ty drážky?? žádnej měřící nebo upínací přípravek se k tomu se nedělal.....
a nebo je to klasika, udělat to tak složitý, aby si to dotyčnej zájemce za těch 1500 éček koupil :)
princip upnutí.JPGprincip upnutí 2.JPGprincip upnutí 3.JPG
princip toho aretování na ten svislý čep po němž to jezdí máš dobře, ale rozměry blbě. mělo by to vypadat cca jako u těch sezimáckých držáků, nebo u PCM a nebo u (obecně) u všech tech aretací s tohoto teritoria (tornos, bechler, pcm, starý kummer......). Tj. díra ma v celé délce stejný průměr (pak se to snadno dělá - já bych jí udělal skrz naskr, zepředu pak akorát narazil krátký špunt aby do toho nešel bordel), ten konec toho upínacího šroubu pak má větší průměr (jako ta díra), to mezi maticí a tím koncem je obyčejná trubka, vnější opět jako díra, vitřek jako zeslabený šroub před tou zadní hlavou. Celý si to pak složíš dohromady, nezi konec a trubku dáš duralínovou (cokoli měkkýho) vytočenou podložku tl. cca 1. a v tom složeným stavu tam vysmažíš ten upínací radius. Po obrobení podložku samozřejmě vyndáš. Pak to upíná tak, že to upíná odtlačením toho svislýho trnu přes ty dva radiusy oproti tomu trnu, na druhý straně pak o bok tý díry (směrem k tomu kotouči) - nic se neohybá.. Kdyby to nebylo jasný, tak pošta - ti to vyblikám - ale když si kuchneš jakýkoli sezimácký (písecký) modulární držák, tak Ti to bude okamžitě jasný. Nebo šrouby v revolveru či držáky 70/102/122/123.
Ten kamen vepředu podle mě je asi na to, abys tam mohl tak nějak utáhnout blank krátký destičky a obecně malý radeca (třeba 4x4), mě to připadá jako nepraktický a nešťastný - protože se to bude ohybat podle toho šroubu. Já bych to řešil klasicky tou páčkou jako u 175 - zprava (a ne nesmyslně zleva), protože vlevo není místo. Jako bonus bys pak měl, že tam utáhneš cokoli všelijak vysoký. Obecně je podle mě ten originál celý držák nejspíš výsledkem zadání "na brusku, co na to nebyla navržená, ubastli něco, aby tam nějak tak jakoby jako šly brousit radiusy a tvary pro automatový nože".
Tu samou brusku (akorát polotovar byl z ricelandu - kvůli 5C, takže se to muselo celý totálně předělat - v podstatě zbyly akorát některý odlitky a i ty jsou šílený) používám, ale akorát jako hrubovací - a to hlavně pro to, protože celá ta koncepce je pro nějaký přesný tvary dost peklo - nemůžeš k kotouči z obou stran (podle mě nutný), je tam málo místa, není tam pořádně vidět, je to málo tuhý, překáží kryt. Výhoda jsou samozřjmě ty originál 5C a to že mi tam tudíž jdou ty W od Sch (přes mezikus), nevýhoda viz výš.
Netuším na co to přesně chceš, ale kdybych to měl dodělávat já, tak místo toho šílenýho orloje, bych to udělal tak jako to je u 175 nebo Minora jenom naklápěcí, protože to je asi tak 10x jednodušší, 10x rychlejší na nastavení, z hlediska fce (co od toho je třeba) výsledek stejný, z hlediska čistitelnosti, nesrovnatelný. Stejně s tím plynulým výsuvem budeš bojovat s zdvihem - originál má napsáno, že to rozumně vychází akorát tak v 8mm výšky kudly - a to je dost málo. Plynulý výsuv podle mě nepotřebuješ (pokud nebudeš brousit prizmatický nože) a ty si na tom dělat s prominutím nedokážu představit.
Samozřejmě, pokud máš chuť dělat technickou rozcvičku a máš dost času, :lol: podle mě s minimálním přínosem, viděl bych to jako super :) cestu.
Zbytek asi víš jak (pošta), protože to tu nemá smysl plevelit nějakýma konkrétníma řešeníma, kdy pak se bude muset vysvětlovat proč se to tak dělá cca 100 let a proč ne jinak, protože někdo (ne ty) v r.2023 se pokouší objevit járovku.
Sancho Panza
Příspěvky: 1060
Registrován: 6. 3. 2021, 12:50

16. 4. 2023, 11:24

jo a ty "pera" na tý dolní desce - podle mě to nejsou pera, ale jenom "trubky" - aby se prodloužilo to za co ty čepy a ten svislý šroub drží v tom spodku, ale mohlo (ten hořejšek) mít dolní plochu co nejníž - aby ta plocha pod tím nožem nebyla příliš nízká (není tam místo - to je daný nejspíš tím, že ten držák je dodatečný bastl) a to původní rameno má nějaký radius (délku) ale ty se potřebuješ dostat s spodkem kudly v držáku co nejníž a ono tam jaksi bez předělání (zkrácení toho ramene) už není místo. Výrobně to bude opruz.
Sancho Panza
Příspěvky: 1060
Registrován: 6. 3. 2021, 12:50

16. 4. 2023, 11:28

teď na to koukám ještě jednou - ony tam ty "pera" :shock: fakt asi jsou! - I tak si myslím, že to je z toho důvodu, aby ty čepy a ten šroub za něco dole vůbec držel a přitom ta upínací část měla alespoň nějakou trochu tuhost - aby se to neotevíralo při upnutí ty kudly. I tak je tam ale podle mě v místě toho pera, pod tím upnutým nožem, skoro nic :roll: .
Uživatelský avatar
tumlik
Sponzor fora
Příspěvky: 3770
Registrován: 19. 12. 2007, 8:20
Bydliště: já su z Moravskej :-)
Kontaktovat uživatele:

16. 4. 2023, 1:19

sancho: dík za nakopnutí, vůbec mně nenapadlo jít na kukačku ke konkurenci, ale díval jsem se na tu 175 a těch držáků je tam víc (asi podle výšek), předpokládám, že máš na mysli něco ve stylu 401.76.00.0, to je věru fakt jednoduchý :)

Já to bral jako cvičení a proto, že to je jediný co k té deckelové hlavě nemám, tak jsem si to pro svou potěšilost chtěl vyrobit, protože jsem to nikde neviděl a narazil jen na ten řez z manuálu. Moc nechápu ten výškový zdvih co vychází snad jen 3,5mm, pak po tím nožem prázdno, nevidím v tom smysl když můžu použít podložky abych se dostal do osy, ale zase proč bych se tam měl dostávat? Je to zbytečně složitý, u tohohle mně trochu uniká smysl...
o ty rádiusy mně až tak nejde, klidně tu hlavu sundám z S0 a šupnu i s tyčí na S1 a tam už si můžu udělat kotouč jakej chci, nebo na magnetku... to už je jedno
..prostě to výškové inferno nechápu

šlo mě jen o to, dojít tomu na kloub, ideál kdyby to někdo měl, a řekl, je to na to a na to, a nebo: systém na pí..u, tohle se moc nepovedlo, a taky mně nedávalo smysl, proč by ten kus měl stát 1,5k éček, potažmo 1,8k dolcků :roll: možná to bude jak píšeš, nějak se to zatáhne v těch perech a bude to držet, jinak do "osy" podle původní hlavy je tam 26mm, tedy místa dost i pro 16mm nůž (pod dnem pera pak 4mm), ale na co to mít v ose, když je ten pohyb kývavý?

sehnal jsem z čínský U2 ten vrch na 5C, ten už mám dlouho, jen se musí sundat z každé strany úhel o cca 0,67mm, to je v pohodě, pak by tam měla být osa, dělení kolíčkem tragický, no opravit se to dá taky, udělat tam nový dírky a ten čípek co tam zapadá tak jako kužílek a bude to pipi
http://www.tumlikovo.cz/
Popularizační web nástrojařství a kovoobrábění
Uživatelský avatar
tumlik
Sponzor fora
Příspěvky: 3770
Registrován: 19. 12. 2007, 8:20
Bydliště: já su z Moravskej :-)
Kontaktovat uživatele:

16. 4. 2023, 1:28

ještě mně teda napadlo, že když je to přitažené dolů, tak musím dostat čelo nože do osy kotouče začnu brousit a pak tím zdvihem dělám hřbet (posouvám se nad osu), šroub má nějakých 12mm, vyjede to z drážek a vykloněním klasicky pak dělám hřbet vedlejšího ostří, to jediné má logiku, použitelné jen na vnější rádiusy, broušeno ne čelem ale obvodem :wink:
http://www.tumlikovo.cz/
Popularizační web nástrojařství a kovoobrábění
Sancho Panza
Příspěvky: 1060
Registrován: 6. 3. 2021, 12:50

16. 4. 2023, 3:24

tumlik píše: 16. 4. 2023, 1:28 ještě mně teda napadlo, že když je to přitažené dolů, tak musím dostat čelo nože do osy kotouče začnu brousit a pak tím zdvihem dělám hřbet (posouvám se nad osu), šroub má nějakých 12mm, vyjede to z drážek a vykloněním klasicky pak dělám hřbet vedlejšího ostří, to jediné má logiku, použitelné jen na vnější rádiusy, broušeno ne čelem ale obvodem :wink:
Pokud by to byl skutečný prizmatický tvarový nůž (který nemění tvar a ostří se pak pouze shora) tak bys to tak skutečně musel dělat - ten celý tvar "projet" tím výškovým "zdvihem" toho co si chceš dodělat.
Problém ale je v tom, že to jednak (ty ramena u tehle brusek) je málo tuhý - takýe se neubráníš na tom dělat "vlny", ale hlavně bys potřeboval ten "kout" brousit jak tak se musí - tj. přidávat a projíždět - a to tím točítkem nelze - protože přidávat bys měl málo (tak akorát) a jezdit spíš rychleji (tak akorát) - a to tím mikrometrickým šroubem na tom držáku nahoře prostě neuděláš - tím se rychle jezdit nedá. Prostě jako když na magnetce brousíš radius - to tam taky nemůžeš nasmažit do plný hloubky naplno, a pak pustit stůl, protože jinak to upálíš a akorát zamatláš kotouč.
U 175 se to řeší tím orlojem na žlábky - tam můžeš mezi pevnýma dorazama jezdit nahoru a dolu - tangenciálně okolo obvodu kotouče - jako třeba na magnetce - pákou - (tj. rychle), ostatní je pak správně mikrometrický (točítko o 10mm na tyči vlevo, šroub dorazu koncový polohy na páce vpravo). Úhly si pak nastavíš jaký chceš - protože to na těch radiusech a čepech to jde nastavovat asi tak na milion :lol: způsobů.
Blbý akorát je, že to chce koupit hotový origoš, protože výrobně to je hrůzný až šílený, všechno tvrdý a broušený (ne že by to nešlo nějak vyrobit - podle mě to ale nemá smysl - čistý opruz)
Nastavovací dokumentaci ti kdyžtak pošlu.
Naposledy upravil(a) Sancho Panza dne 16. 4. 2023, 3:47, celkem upraveno 2 x.
Sancho Panza
Příspěvky: 1060
Registrován: 6. 3. 2021, 12:50

16. 4. 2023, 3:37

to vlastní naklápědlo je v náhradních dílech, str. 2, pozice 401.47.90, dorazový šroub (když to nepoužíváš - nemáš to vyklopený) je pak pozice 401.37.30
Je to prostě na mašině trvale, nad tou horní točnou, pod tím držákem na kudly. Páka zprava.
V tom červeným návodu - str. 5, obrázek jak v ruce drží ten malý přídavný pravý kotouč s trnem na žlábky a má sundaný pravý dekl s tím žlábkovým nomogramem.
Odpovědět

Zpět na „dalsi“