nástrojová bruska-začínám kutit
Zdravím,
pohrávám si s takovou myšlenkou cnc přípravku na brusku.
Přípravek by se namontoval na stůl brusky a pro hrubé najetí by se použily posuvy brusky. (NUA 25)
Přípravek by jezdil v osách X a Y plus rotační osa A. Chci to převážně pro broušení fréz na obvodu a také čela zubů.
Pro posuvy v osách X a Y bych použil nějaké lineární vedení plus kuličkové šrouby.Posuv v ose X by mohl stačit 200mm, v Y 50 (prakticky by sloužil jenom na odjetí kotouče ze záběru nebo při ostření čela frézy. Osu A bych udělal ještě rotační kolem vodorovné osy, ale to jenom manuálně. Je mi jasné že musí být všechno zakrytované a utěsněné kvůli brusnému prachu.
Motory předpokládám krokové. Pro osu A použít ozubený řemen z motoru na osu děličky.
Tuhle mechanickou část bych zvládl bez problému si myslím. Horší to ale bude s programem. Moje představa je že ručně přijedu nástrojem ke kotouči. Potom elektrickým kolečkem líznu kotouč tak jak bych chtěl brousit. Vynuluju všechny osy a odjedu. Potom si nastavím program kdy mu řeknu stoupání šroubovice, počet a délku břitů. Následně už jenom spustím program a fréza najede znovu do nulového bodu a přebrousí se jeden zub, odjede vrátí se do nějakého bodu a pootočí a znovu najede. Je to takové krkolomné, uznávám. Ale v podstatě by šlo o něco takového https://www.youtube.com/watch?v=XoTa1XuhzlY" onclick="window.open(this.href);return false;
Jaké by jste doporučili lineární vedení a kuličkové šrouby ?
pohrávám si s takovou myšlenkou cnc přípravku na brusku.
Přípravek by se namontoval na stůl brusky a pro hrubé najetí by se použily posuvy brusky. (NUA 25)
Přípravek by jezdil v osách X a Y plus rotační osa A. Chci to převážně pro broušení fréz na obvodu a také čela zubů.
Pro posuvy v osách X a Y bych použil nějaké lineární vedení plus kuličkové šrouby.Posuv v ose X by mohl stačit 200mm, v Y 50 (prakticky by sloužil jenom na odjetí kotouče ze záběru nebo při ostření čela frézy. Osu A bych udělal ještě rotační kolem vodorovné osy, ale to jenom manuálně. Je mi jasné že musí být všechno zakrytované a utěsněné kvůli brusnému prachu.
Motory předpokládám krokové. Pro osu A použít ozubený řemen z motoru na osu děličky.
Tuhle mechanickou část bych zvládl bez problému si myslím. Horší to ale bude s programem. Moje představa je že ručně přijedu nástrojem ke kotouči. Potom elektrickým kolečkem líznu kotouč tak jak bych chtěl brousit. Vynuluju všechny osy a odjedu. Potom si nastavím program kdy mu řeknu stoupání šroubovice, počet a délku břitů. Následně už jenom spustím program a fréza najede znovu do nulového bodu a přebrousí se jeden zub, odjede vrátí se do nějakého bodu a pootočí a znovu najede. Je to takové krkolomné, uznávám. Ale v podstatě by šlo o něco takového https://www.youtube.com/watch?v=XoTa1XuhzlY" onclick="window.open(this.href);return false;
Jaké by jste doporučili lineární vedení a kuličkové šrouby ?
SN320,SUI 32 CNC,Maho 700 CNC, Mikron UME 600, Boley BKN 100C, Brother TC 201
u nás berou za nabrouseni frezy 200kč za jednu.. což je zlodějna. nástrojovou brusku sice mám ale nemám komplet příslušenství na to abych nabrousil frezu. tohle by mohlo umět v podstatě nabtousit cokoliv.
SN320,SUI 32 CNC,Maho 700 CNC, Mikron UME 600, Boley BKN 100C, Brother TC 201
- robokop
- Site Admin
- Příspěvky: 23158
- Registrován: 10. 7. 2006, 12:12
- Bydliště: Praha
- Kontaktovat uživatele:
dnes uz se brousi pouze specialy i ve fabrikach kde na to brouseni maji kompletni vybaveni
obycejne nastroje se moc nevyplaci brousit
leda by jsi rad pracoval za 50,-/h a brusky s komplet prislusenstvim nekde rozdavali zadara
obycejne nastroje se moc nevyplaci brousit
leda by jsi rad pracoval za 50,-/h a brusky s komplet prislusenstvim nekde rozdavali zadara
Vsechna prava na chyby vyhrazena (E)
Po dlouhé době oživím,
už mám možná komletní litinový kryty kotoučů, tak sem sjednotil díry na D14mm (měl sem i s D12mm)
no a konečně si udělal saděčku o různých délkách.
Jinak mám už vyrobený agregát chlazení, čeká mě kryt na kotouč při chlazení a následně korýtka pro záchyt kapaliny odtok zpět a což bude trošku složitější...
už mám možná komletní litinový kryty kotoučů, tak sem sjednotil díry na D14mm (měl sem i s D12mm)
no a konečně si udělal saděčku o různých délkách.
Jinak mám už vyrobený agregát chlazení, čeká mě kryt na kotouč při chlazení a následně korýtka pro záchyt kapaliny odtok zpět a což bude trošku složitější...
Nazdar borci,
tak zase sem pokročil, chlazení na nástrojovou brusku bn 102, podařilo se mě udělat kryt na kotouč proti rozstřiku kapaliny, je to z nerezi, zároveň je na krytu držák hadice vedoucí chladící emulzi, spodek je vyspádovaný, aby kapalina tekla zpět k čerpadlu...pomalu se blíží finále sem dost zvědavý.
Jo a mezi těma dvoma dílama jak sů sešrůbovaný je tesnění. (to na fotkách není)
tak zase sem pokročil, chlazení na nástrojovou brusku bn 102, podařilo se mě udělat kryt na kotouč proti rozstřiku kapaliny, je to z nerezi, zároveň je na krytu držák hadice vedoucí chladící emulzi, spodek je vyspádovaný, aby kapalina tekla zpět k čerpadlu...pomalu se blíží finále sem dost zvědavý.
Jo a mezi těma dvoma dílama jak sů sešrůbovaný je tesnění. (to na fotkách není)
Po dlouhé době oživuju toto vlákno.
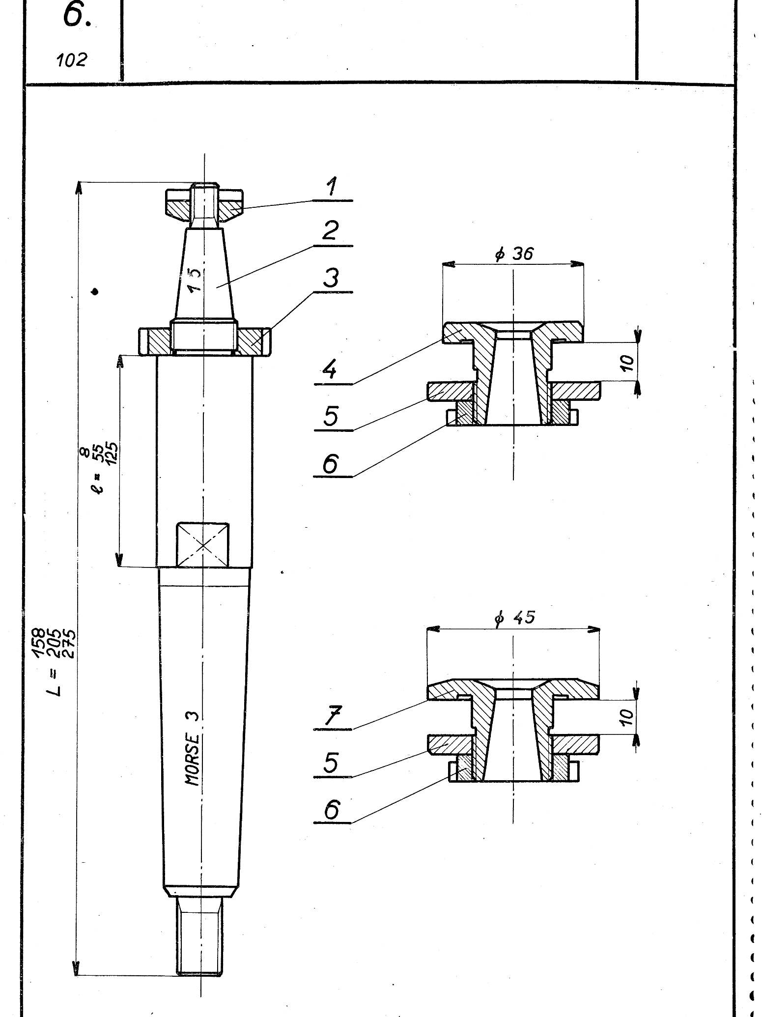
Měl bych takový dotaz, týká se to přírub na brusné kotouče, jak je známo na každů stranu má příruba opačný závit, aby se kotouč při rozjezdu a broušení nepovolil a nebyl leteckej den a praní prádla.
No a jábych chtěl, abych přírubu měl univerzální jak na levou tak na pravou stranu za předpokladu, že trny by samozřejně byly ty co tam nají být.
De to vůbec???
Přiznám se, že sem jednou omylem dal přírubu s opačným závitem a nestihl sem se pak divit jak rychle se to povolilo.....leteckej den nebyl ale dobrý pocit taky nebyl.
Zatím sem přemýšlel, že na kotouč nasadím přírubu a závit zalepím to by mohlo být nejjednoduší žešení.
Ovšem potom nahřívat na povolení....to nebude zrovna košer
je nějaké jinší řešení?
jo a zeptám se ještě: máte nějakou fintu na zdělávání přírub z trnu bez demontáže celého trnu? Ptám se protože něktré trny mám bez matice a závitu pro demont. příruby (na nákresu je to č.3)
Měl bych takový dotaz, týká se to přírub na brusné kotouče, jak je známo na každů stranu má příruba opačný závit, aby se kotouč při rozjezdu a broušení nepovolil a nebyl leteckej den a praní prádla.
No a jábych chtěl, abych přírubu měl univerzální jak na levou tak na pravou stranu za předpokladu, že trny by samozřejně byly ty co tam nají být.
De to vůbec???
Přiznám se, že sem jednou omylem dal přírubu s opačným závitem a nestihl sem se pak divit jak rychle se to povolilo.....leteckej den nebyl ale dobrý pocit taky nebyl.
Zatím sem přemýšlel, že na kotouč nasadím přírubu a závit zalepím to by mohlo být nejjednoduší žešení.
Ovšem potom nahřívat na povolení....to nebude zrovna košer
je nějaké jinší řešení?
jo a zeptám se ještě: máte nějakou fintu na zdělávání přírub z trnu bez demontáže celého trnu? Ptám se protože něktré trny mám bez matice a závitu pro demont. příruby (na nákresu je to č.3)
- tumlik
- Sponzor fora
- Příspěvky: 3782
- Registrován: 19. 12. 2007, 8:20
- Bydliště: já su z Moravskej :-)
- Kontaktovat uživatele:
zamával bych keramice a opustí tě problémy levého a pravého závitu, shánění nesehnatelného a trápení s orovnáváním atd.
, dřív nebo pozdějc na to stejně dojdeš, obzvlášť pokud to máš na základní broušení nástrojů, tak to není zas až taková drahá záležitost 
http://www.tumlikovo.cz/
Popularizační web nástrojařství a kovoobrábění
Popularizační web nástrojařství a kovoobrábění
Myslel sem, že diamantový kotouče jsou jen na tvrdokov, nezasírají se hsskem??tumlik píše:zamával bych keramice a opustí tě problémy levého a pravého závitu, shánění nesehnatelného a trápení s orovnáváním atd., dřív nebo pozdějc na to stejně dojdeš, obzvlášť pokud to máš na základní broušení nástrojů, tak to není zas až taková drahá záležitost
Čím obnovit zanesený dia kotouč?
Kdybys byl tak hodný jaký typ používáš?
Mám nějaký doma zkusím je nafotit a dát sem pro zhodnocení zdali by byly vhodné.
A stím diamantákem i hrubuješ? nebo jen finální ostří?
Já to zatím šmrdlám jen keramiků.
hrubování zrnitost 40 po ostří
finální břit zrnotost 60-80 proti ostří ovšem opatrně, páč už se mě jednů fréza roztočila
on taky tumlík nikde nepíše, že by hss broosil diamantem - existuje totiž i karbid boru - a ten je právě na tu HSSovi-ivo píše:Myslel sem, že diamantový kotouče jsou jen na tvrdokov, nezasírají se hsskem??tumlik píše:zamával bych keramice a opustí tě problémy levého a pravého závitu, shánění nesehnatelného a trápení s orovnáváním atd., dřív nebo pozdějc na to stejně dojdeš, obzvlášť pokud to máš na základní broušení nástrojů, tak to není zas až taková drahá záležitost
Čím obnovit zanesený dia kotouč?
Kdybys byl tak hodný jaký typ používáš?
Mám nějaký doma zkusím je nafotit a dát sem pro zhodnocení zdali by byly vhodné.
A stím diamantákem i hrubuješ? nebo jen finální ostří?
Já to zatím šmrdlám jen keramiků.
hrubování zrnitost 40 po ostří
finální břit zrnotost 60-80 proti ostří ovšem opatrně, páč už se mě jednů fréza roztočilaa znehodnotila kotouč zostal celý a já taky.
Ja som si myslel že CBN je aj na radeko ale jeden brusič mi povedal že CBN je len na frezy takže CBN nebude na všetky nastrojove ocele 19..., ...ovi-ivo píše:Ahá, carbid boru to je "CBN kotouč"
No tak to musik kuknut co mám doma za poklady
sustruh sv18 ,vrtačka
Ja som si myslel že CBN je aj na radeko ale jeden brusič mi povedal že CBN je len na frezy takže CBN asi nebude na všetky nastrojove ocele 19..., ...peter1 píše:ovi-ivo píše:Ahá, carbid boru to je "CBN kotouč"
No tak to musik kuknut co mám doma za poklady
Alebo
ako to je??
sustruh sv18 ,vrtačka
CBN je obecně na "ocel nad 55HRc" - tzn. teda v ostření hlavně na tu HSS. Když je to měkký, tak to nebrousí ale tak nějak matlá.peter1 píše:Ja som si myslel že CBN je aj na radeko ale jeden brusič mi povedal že CBN je len na frezy takže CBN nebude na všetky nastrojove ocele 19..., ...ovi-ivo píše:Ahá, carbid boru to je "CBN kotouč"
No tak to musik kuknut co mám doma za poklady
Ovšem to se týká POUZE brusiva - tj. toho vlastního CBN - pojivo si pro změnu
Klasický Radeco je 19810, Radeco "C" je 19858, Radeco "M10" je 19861 - všechno se normálně borazonem brousí (samozřejmě pouze v tvrdém stavu).