Pro tuhle aplikaci by asi měla stačit. Žádná elektronika, jen kus kovu a Cu drát

Použití v nabíječce akumulátorů je popsáno v knize: Amatérská elektronika v domácnosti a při rekreaci. Dá se stáhnout z uložto.
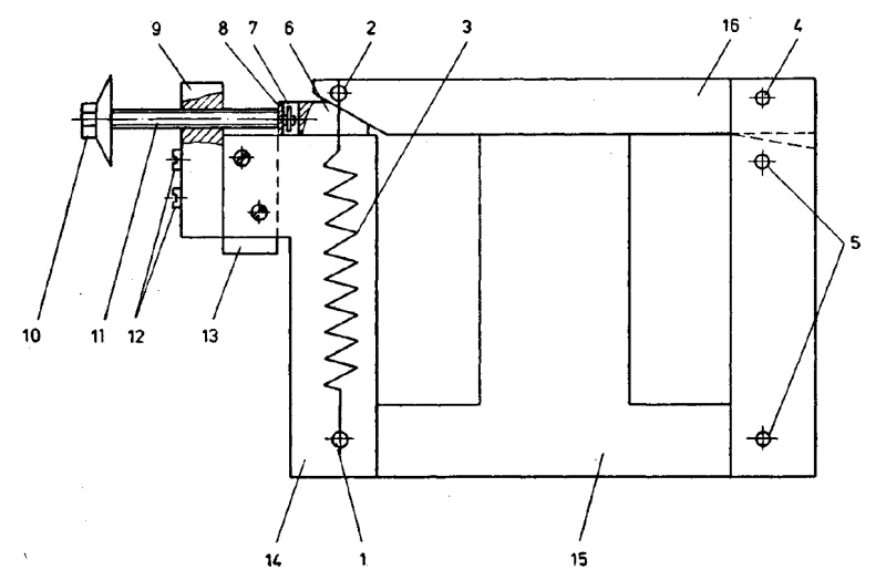
Další variantou je trafo s regulovaným magnetickým zkratem. Používá se u levných svářeček v obchodech typu bau.
