Identifikace starého soustruhu
Ahoj jestli je vychozena univerzala, vychodila se nejspis na tomhle stroji. Pak pozor co je jeste ojete a s vulemi. Jinak krasny historicky kousek, jestli na nep pujde slusne delat je ve hvezdach, ale za zachranu 
SM16A, FN20, 3E710B, CDC7-2, HO02, CO2laser, Fiber.. propagator www.atreon.cz
Kromě univerzálky je ten soustruh prakticky novej. Lože má stopy po brusce z výroby, originální lak, bez vůlí na podélném i příčném šroubu... Ani jsem nevěřil, že se ještě někde válej.
Hlavně ta univerzála je hrozně obrovská, ten soustruh sotva umotá lešeňovku... Tělo univerzály hází cca 5 stovek, ale cokoli tam upnu, tak hází neměřitelně, ale i u čelistí, nejde to upnout prostě rovně. Na 10 cm to hází třeba o 5 desetin
, jako motam na tom, ale je to šílený.
Jsme to koupil jen na samohyba, nějaký čepy apod, na to to stačí, ale překvapil mě ten stav, tak bych mu chtěl dopřát lepší sklíčidlo, možná mu nechám i opravit kužele
Hlavně ta univerzála je hrozně obrovská, ten soustruh sotva umotá lešeňovku... Tělo univerzály hází cca 5 stovek, ale cokoli tam upnu, tak hází neměřitelně, ale i u čelistí, nejde to upnout prostě rovně. Na 10 cm to hází třeba o 5 desetin
Jsme to koupil jen na samohyba, nějaký čepy apod, na to to stačí, ale překvapil mě ten stav, tak bych mu chtěl dopřát lepší sklíčidlo, možná mu nechám i opravit kužele
Tak univerzálku vyměníš, to asi problém nebude. Klidně bych tam viděl menší. Jak prosím tě měříš tu házivost? Jestli jsi upnul kus lešenářské trubky a změřil tak se tomu moc nedivím. Navíc pokud točíš takhle vyloženou trubku bez podepření koníkem, tak se trochu divím, že máš ještě všechny zuby
Nejprve je potřeba tu univerzálu sundat a poměřit přímo vřeteno. Potom teprve následuje usazení a přetočení příruby a nakonec přesné ustavení sklíčidla
Strigon ME-250, SV18RA, Mikromat SFW200/600, L-TEC Ductling II
Nasadil jsem tam 110 univerzálku, kterou jsem měl doma. Unašeč jsem stočil tak, aby šla vrátit i ta velká, nyní házivost univerzálky na obvodu 2 stovky, s tím už dokážu žít. Dneska jsem si pro radost a test soustruhu vyrobil otočný hrot do koníka s MK2 kuželem. Není to nic profi, ale házivost hrotu je ve 4 stovkách. Taková přesnost 100 let starého soustruhu už mi asi bude na hraní stačit. Přikládám foto.
myslíš, že tenhle hrot bude fungovat? Vyplatí se vůbec něco takového vyrábět, když se za pětikilo nechá koupit uloženka? Obávám se, že to nezakryté ložisko moc dlouho nevydrží
předválečný soustruh Volman, protahovačka HMS 850, Gude MIG 192/6K, frézka F1J2
Jak říkám
Ráno jsem si udělal kafe, u baráku popadl kus kulatiny, vytáhl jsem dvě ložiska ze šuplíku, která se tam válela a nějakou dobu jsem si motal a tohle byl výsledek. Jsou tam dvě radiální ložiska, axiální tam není. Měl jsem chvíli cukání, že bych tam dal mezi ty dva kusy kuličku, ale pak jsem se na to vykašlal.
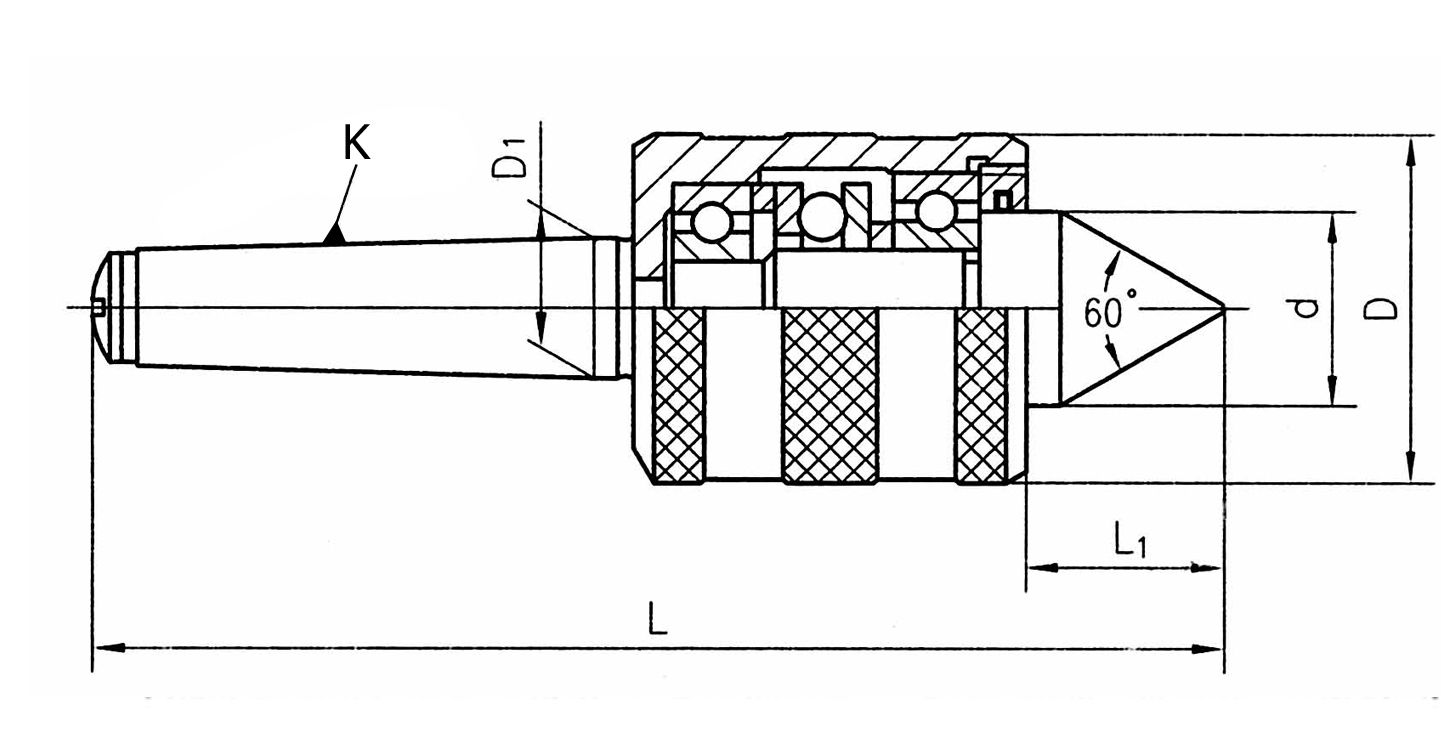
Technický výkres pro otočný hrot: např toto - viz google
Technický výkres pro otočný hrot: např toto - viz google
měl jsi pro radost skočit na manželku, mohl jsi ušetřit kulatinu. Ta axiální ložiska to nezvládnou. Hoď tam jedno axiální a to krajní ložisko aspoň dej zadeklované, aby do ně nešel bordel. Sice to nebude hitparáda, ale bude to fungovat
předválečný soustruh Volman, protahovačka HMS 850, Gude MIG 192/6K, frézka F1J2
Hroty pěkný, ten trn nemusí být funkční, stačí, že otestoval ten soustruh. Neukazoval jsem vám ho proto, abych se pochlubil, že mám hrot, protože to je nepoužitelný hrot, ale proto, abych ukázal, jak ten soustruh dokáže pracovat přesně, což bych u tak staré mašiny nečekal. Jen blázen by vyráběl na veteránovi hrot, když nový stojí pár stovek a házivost má o řád nižší. Vlákno je o soustruhu.
Jinak k soustruhu samotnému, měl by někdo nějaké doporučení jak udělat pohon? Takhle, jak to je teď se mi to nelíbí a ten kilometrovej řemen jak se cestou klepe, tak rozklepe celej soustruh. Mám připravený frekvenční měnič a k dispozici asynchronní motory 1400/min ve 1,5 a 3 kW. Předpokládám, že 1,5 kW bude stačit. Kdyby měl někdo nápad, jak co nejvíce snížit vibrace náhonu tak, abych soustruh roztočil třeba i na 1000/min.
Jinak k soustruhu samotnému, měl by někdo nějaké doporučení jak udělat pohon? Takhle, jak to je teď se mi to nelíbí a ten kilometrovej řemen jak se cestou klepe, tak rozklepe celej soustruh. Mám připravený frekvenční měnič a k dispozici asynchronní motory 1400/min ve 1,5 a 3 kW. Předpokládám, že 1,5 kW bude stačit. Kdyby měl někdo nápad, jak co nejvíce snížit vibrace náhonu tak, abych soustruh roztočil třeba i na 1000/min.
Zdravím všechny,
rád bych se optal, zda někdo někdy řešil redukci pro přírubu k vřetenu soustruhu. Dneska jsem sundal přírubu a naměřil jsem závit 40x4 (ale přes 8 závitů to vycházelo stoupání 4,125 tak nevím) Nicméně vřeteno nemá žádný středící prvek a na závitu je příruba dost volná. Typuji, že se měl dotáhnout polotovar příruby a pak opracovat a už nesundavat. Rád bych to předělal na závit pro SV18 jakožto dost běžný soustruh. Napadlo mě vzít litinovou trubku (shodou okolností tu nějaké mám), dovnitř udělat závit pro toto vřeteno, pak to dotáhnout na vřeteno, popřípadě natemovat, nebo zalepit aby to prostě drželo a na tento válec pak vysoustružit závit a středící plochu pro přírubu SV18. Pak by se již sundavaly příruby ale redukce by zůstala pořád na vřeteni. Je v tom nějaký háček? Rád si nechám poradit.
Přikládám fotku toho mého zachráněnce.
rád bych se optal, zda někdo někdy řešil redukci pro přírubu k vřetenu soustruhu. Dneska jsem sundal přírubu a naměřil jsem závit 40x4 (ale přes 8 závitů to vycházelo stoupání 4,125 tak nevím) Nicméně vřeteno nemá žádný středící prvek a na závitu je příruba dost volná. Typuji, že se měl dotáhnout polotovar příruby a pak opracovat a už nesundavat. Rád bych to předělal na závit pro SV18 jakožto dost běžný soustruh. Napadlo mě vzít litinovou trubku (shodou okolností tu nějaké mám), dovnitř udělat závit pro toto vřeteno, pak to dotáhnout na vřeteno, popřípadě natemovat, nebo zalepit aby to prostě drželo a na tento válec pak vysoustružit závit a středící plochu pro přírubu SV18. Pak by se již sundavaly příruby ale redukce by zůstala pořád na vřeteni. Je v tom nějaký háček? Rád si nechám poradit.
Přikládám fotku toho mého zachráněnce.