soustruh SN 320
-
Jan Pravda
- Příspěvky: 43
- Registrován: 17. 9. 2019, 9:30
Jojo po chvili toceni to zacne kapat okolo vretena pred matici univerzalky
ja som povolil vreteno vratane vnutornych veci na nom a vytlacil som ho v smere ku koniku asi na 3 - 4 cm cize som nemusel vyberat uplne von , potom som vystrihol s tesniaceho papiera tesnenie podla tej lesklej priruby vratane otvorov pre srouby na vrchu som ju prestrihol a tak som ju tam navliekol ale este musis na nej vystrihnut aj otvor pre odtekanie oleja ten otvor uvidis ked tu prirubu budes mat dalej od tela sustruhu , zaroven som dratom precistil otvor v tele sustruhu cez ktory ma olej tiect nazad a cele som to potom naspet zatiahol aj vreteno , nerobil som na nom este ho nemam dokonceny ale pri skusani cca 1 hodinu chodu som nezaznamenal ani kvapku oleja pekne to odteka tam kam treba , pravdepodobne sa upchava casom ten kanalik cez ktory to ma odtekat spet do vani vidno ho na obrazku v navode k sustruhu
-
Jan Pravda
- Příspěvky: 43
- Registrován: 17. 9. 2019, 9:30
To by stalo za zkousku! Cise pro jistotu nez zase neco podelam:
1) musi se povolit ta vymezovaci matice na obrazku
2) pak se s tim celym da cuknout trochu ven (pripadne se povoli i ostatni veci na vretenu)
3) znova se sesteluje vule po nasazeni zpatky (bod 1)
4) dotahne se priruba a "hotovo"
Nejakej hacek - treba figl na vymezeni vule, predepnuti toho loziska, atd?
Na druhy pohled, dokreslil jsem do obrazku misto kde si myslim ze to tece / kape. Coz znamena ze se to z te priruby dostane predkem ven - ano pokud je ten odtokovy kanalek ucpany dava to smysl.
Pak ale musi byt jeste nejake tesneni mezi krajem priruby a vretenem (sipka na obrazku)?
1) musi se povolit ta vymezovaci matice na obrazku
2) pak se s tim celym da cuknout trochu ven (pripadne se povoli i ostatni veci na vretenu)
3) znova se sesteluje vule po nasazeni zpatky (bod 1)
4) dotahne se priruba a "hotovo"
Nejakej hacek - treba figl na vymezeni vule, predepnuti toho loziska, atd?
Na druhy pohled, dokreslil jsem do obrazku misto kde si myslim ze to tece / kape. Coz znamena ze se to z te priruby dostane predkem ven - ano pokud je ten odtokovy kanalek ucpany dava to smysl.
Pak ale musi byt jeste nejake tesneni mezi krajem priruby a vretenem (sipka na obrazku)?
aj na druhej strane vretena treba povolit , netusim ci tam je este nejake tesnenie medzi tou prirubou a vretenom ale ako som to precistil tak uz ani kvapka nevytiekla okolo tej matice , a stelovanie som ziadne nerobil len som to dotiahol vsetko a ked som meral tak vreteno chodi pekne dokonca mam pocit ze lepsie ako pred tym hadze asi nejake 2 - 3 mikrony cize 0,003 mm
-
Jan Pravda
- Příspěvky: 43
- Registrován: 17. 9. 2019, 9:30
Panove potrebuju pomoct,
to vreteno proste nechce ven. Jde mi to jako psovi pastva, ale konecne jsem dodelal odmerovani a vrhnul se na vyreseni vytekani oleje z predni priruby vretena.
Podle toho co jsme tady resili jsem povolil matice na vretenu, sundal matici na konci vretene pod malou prirubou, povolil predni prirubu, vyndal segrovku uprostred vretena. Z lehka jsem poklepal na konec a nic.
Abych to popsal presne, v priloze jsou fotky, prvni fotka jenom ukazuje jake cislo fotky patri kam na velkem obrazku pro prehled.
Terminologie je:
- Predni - u univerzalky
- Zadni - na konci soustruhu u motoru
- Doprava - smerem k univerzalce
- Doleva - smerem k motoru
Fotky:
01 - Predni priruba povolena
02 - Zadni priruba sundana a matice na vretenu taky
03 - Matice na vretenu u velkeho hnaciho kola povolena a odsroubovana do leva (smerem od univerzalky)
04 - Matice na vretenu u maleho hnaciho kola povolena a odsroubovana jako 03
05 - Segrovka vyndana, kola se pak dala jednoduse posunout do leva. Na fotce je segrovka zpatky, dostanu se k tomu zase za x-dni tak jsem ji vratil ...
06 - Tady ten sroub co asi drzi lozisko jsem pro jistotu z lehka povolil, jestli to nedrzi na nem (nezda se mi to) - nic. Je tam taky jedna segrovka, ale mela by to drzet proti lozisku, takze by to melo jit vysunout
Vite co je potreba jeste povolit?
A pak samozrejme druhy dotaz, pokud se mi to povede vyndat, tak zandani. Predni loziska potrebuji nejake predpeti. V manualu jsem ho nenasel, je tam jenom ze "utahovat a bude dosazena pozadovana vule". To je neco jako "primerene" ...
Predem diky za napady!
to vreteno proste nechce ven. Jde mi to jako psovi pastva, ale konecne jsem dodelal odmerovani a vrhnul se na vyreseni vytekani oleje z predni priruby vretena.
Podle toho co jsme tady resili jsem povolil matice na vretenu, sundal matici na konci vretene pod malou prirubou, povolil predni prirubu, vyndal segrovku uprostred vretena. Z lehka jsem poklepal na konec a nic.
Abych to popsal presne, v priloze jsou fotky, prvni fotka jenom ukazuje jake cislo fotky patri kam na velkem obrazku pro prehled.
Terminologie je:
- Predni - u univerzalky
- Zadni - na konci soustruhu u motoru
- Doprava - smerem k univerzalce
- Doleva - smerem k motoru
Fotky:
01 - Predni priruba povolena
02 - Zadni priruba sundana a matice na vretenu taky
03 - Matice na vretenu u velkeho hnaciho kola povolena a odsroubovana do leva (smerem od univerzalky)
04 - Matice na vretenu u maleho hnaciho kola povolena a odsroubovana jako 03
05 - Segrovka vyndana, kola se pak dala jednoduse posunout do leva. Na fotce je segrovka zpatky, dostanu se k tomu zase za x-dni tak jsem ji vratil ...
06 - Tady ten sroub co asi drzi lozisko jsem pro jistotu z lehka povolil, jestli to nedrzi na nem (nezda se mi to) - nic. Je tam taky jedna segrovka, ale mela by to drzet proti lozisku, takze by to melo jit vysunout
Vite co je potreba jeste povolit?
A pak samozrejme druhy dotaz, pokud se mi to povede vyndat, tak zandani. Predni loziska potrebuji nejake predpeti. V manualu jsem ho nenasel, je tam jenom ze "utahovat a bude dosazena pozadovana vule". To je neco jako "primerene" ...
Predem diky za napady!
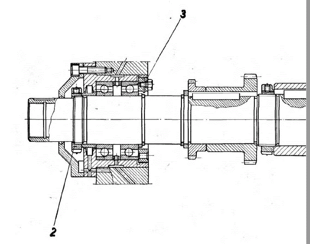
tak já tam hlavně vidím to, že se musí díl 3 vyšroubovat-je to kroužek na závitu, k jeho otáčení slouží díry (nejspíš jich je 6). Kroužek slouží k přenášení axiální síly směrem ke koníku. Šroubek se šestihrannou hlavou, který tam je, slouží jen k zajištění tohoto kroužku, aby se samovolně nepovoloval. A.
SN 20, SM 16 B, FN 25
-
Jan Pravda
- Příspěvky: 43
- Registrován: 17. 9. 2019, 9:30
Ok dik za tip, zkusim. Vypada to ze na povoleni toho krouzku to bude chtit klic s kolikama 9mm a rozteci 87mm. Na lehky poklepani pres kolik a jednu diru se to ani nehne. Sezenu klic a zkusim.
Obecne jsem mel za to ze se z tehle lozisek vreteno jenom vysoupne a ze by melo stacit povolit matici 2. Co jsem prehlednul? Jsou na vretenu nalisovana?
Obecne jsem mel za to ze se z tehle lozisek vreteno jenom vysoupne a ze by melo stacit povolit matici 2. Co jsem prehlednul? Jsou na vretenu nalisovana?
ložiska se většinou ukládají tak, že kroužek, na který je obvodové zatížení (vnitřní), se ukládá těsněji (nalisovává) než kroužek, který má jen bodové zatížení (vnější). Po povolení matice by demontáž měla být snadnější. A.
SN 20, SM 16 B, FN 25
-
Jan Pravda
- Příspěvky: 43
- Registrován: 17. 9. 2019, 9:30
na meziplochách bude zatuhlý olej-nahřát. Nedávno jsem uvolňoval motor ze šnekové převodovky, spojení hřídel (motor) / dutá hřídel (převodovka), žádnou silou to nechtělo povolit, až po zahřátí. Ještě bych překontroloval průchodnost odtokových kanálků, aby demontáž vřetene nebyla třeba. Co přívod oleje do předního ložiska, není moc velký, dá se regulovat? Valivé ložisko nepotřebuje mohutný přívod oleje, není to kluzné ložisko. A.
SN 20, SM 16 B, FN 25
-
Jan Pravda
- Příspěvky: 43
- Registrován: 17. 9. 2019, 9:30
Zkusim to ohrat a uvidime.
Ad kanalky) to je prave duvod proc ho vyndavam, k tomu prednimu se neda dostat. Respektive ho potrebuju jenom posunout abych se dostal pod prirubu a mohl to vycistit. Jinak z toho tece olej vsude kolem. Zadni kanalky jsem uz vycistil.
Jinak na predni lozisko to tece prepadem, privod a odvod podle vykresu je stejnej, takze to musi byt ucpany
Bohuzel u ty predni priruby nelicuje odtokovej kanalek na diru pro sroub, tim by to bylo hotovy davno. Jestli to nevysunu, tak zalozni plan je do priruby udelat diru navic a pres ni to vycistit...
Ad kanalky) to je prave duvod proc ho vyndavam, k tomu prednimu se neda dostat. Respektive ho potrebuju jenom posunout abych se dostal pod prirubu a mohl to vycistit. Jinak z toho tece olej vsude kolem. Zadni kanalky jsem uz vycistil.
Jinak na predni lozisko to tece prepadem, privod a odvod podle vykresu je stejnej, takze to musi byt ucpany
Bohuzel u ty predni priruby nelicuje odtokovej kanalek na diru pro sroub, tim by to bylo hotovy davno. Jestli to nevysunu, tak zalozni plan je do priruby udelat diru navic a pres ni to vycistit...