Sekačka TORO 21070 - oprava unašeče

kdyz nebudes vedet kam to dat tak to napis sem, admin to za tebe umisti nebo vytvori novou sekci
Uživatelský avatar
Thomeeque
Příspěvky: 9426
Registrován: 30. 1. 2012, 10:20
Bydliště: Mimo ČR

17. 6. 2022, 10:41

Ahoj,

unašeč (plast) má zcela "zmizelé" unášecí piny, nůž se protáčí. Je to starší americká sekačka, táta s tím byl v nějakém servisu, náhradní díly už nemají, řekli mu, že lidé si to nějak opravují. Neřešil jste někdo?

https://www.rawa.cz/detail/unasec-noze-toro-m-ur95-6767

0002.jpg
0001-2.jpg
956767.jpg
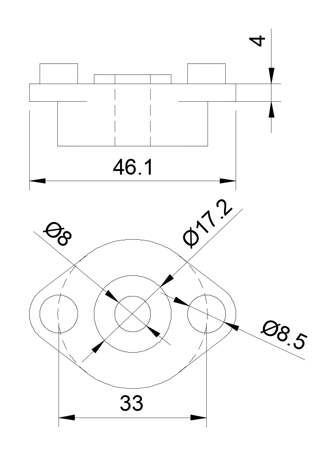
Zhruba naměřené rozměry
Zhruba naměřené rozměry

Nějaké nápady mám, ale jestli už někdo řešil, rád se nechám poučit (třeba jak to dostat šetrně dolu z osy motoru). Btw. nemám tu moc fajnového nářadí, jen takový ten základ kolem domu, ale něco (alá stahovák) můžu příp. zajet koupit (Jesenice u Prahy a okolí).

Dík, T.
mimooborová naplavenina • kolowratský zázrak™ • NPS • GCU • HirthCalc • ncDP.ino
Modros
Příspěvky: 2035
Registrován: 31. 3. 2019, 7:58

17. 6. 2022, 11:07

ty trny budou i bezpečnostní.....když najedeš na kámen tak se střihnou.....takže nějaké natvrdo řešení bych zavrhnul.....co udělat novou z POMu?
Masso, stroje všemožný, autoservis, amatérské závody Nissan GTR
testone
Sponzor fora
Příspěvky: 7449
Registrován: 3. 12. 2010, 5:56
Bydliště: Slaný

17. 6. 2022, 11:50

Modros píše: 17. 6. 2022, 11:07 ty trny budou i bezpečnostní.....když najedeš na kámen tak se střihnou.....takže nějaké natvrdo řešení bych zavrhnul.....co udělat novou z POMu?
přesně
pokud to dáš natvrdo, budeš po příštím setkání nože s kamenem, hroudou a tak řešit ohnutou klikovou hřídel
Obvykle se dějí věci obvyklé. Méně často se dějí věci neobvyklé a zcela vyjímečně se dějí věci vyjímečné...
Masturn 40 CNC, Hermle UWF1200H CNC a pár klasik
http://www.radialengine.cz" onclick="window.open(this.href);return false;
http://www.autopejsek.cz" onclick="window.open(this.href);return false;
Miltech
Sponzor fora
Příspěvky: 555
Registrován: 25. 10. 2009, 7:59
Bydliště: Kostelec na Hane

17. 6. 2022, 11:54

Já bych tam vyvrtal dva otvory 8,5 a vyrobil bych podložku o průměru 46,1 a na ni přivařil dva čepy v rozteči těch 33 mm. Tu pak pouze přitáhneš tím šroubkem.
qwer
Příspěvky: 1400
Registrován: 8. 4. 2008, 8:09

17. 6. 2022, 12:55

Ja som vyrobil na ten unášač Al krúžok s dvoma závitmi asi M6, nasadil ho zo strany od motoru, a nôž priskrutkoval. Na nôž som musel vyvrtať dve dierky pre skrutky
Uživatelský avatar
Mr. MR
Příspěvky: 814
Registrován: 31. 5. 2020, 10:05

17. 6. 2022, 2:15

Ahoj, bezpečnostní funkci nepodceňuj. Děda měl něco podobného od jiného výrobce, unašečů jsem mu koupil víc a občas to (právem) uletělo. Raději bych na tvém místě třeba sehnal podobný unašeč a poladil díry na noži. Nebo vytočit unašeč z kovu a nalisovat do něj plastové kolíky, které by se střihly?
Připrav se, hrajem...
https://www.youtube.com/watch?v=HzjNAnEfvxc
Uživatelský avatar
kenybz
Příspěvky: 3352
Registrován: 16. 2. 2015, 11:16

17. 6. 2022, 3:18

ty unášecí kolíky většinou tak dobře drží, že jak někdo trefí šutrák nebo trubku, tak to většinou urve klínek na setraváku /ventilátoru/ a taky to často ohne klikovku. Mám asi 25 let starou sekačku tam není nic unášecího, ale ze strany od motoru je pertinaxová podložka asi 2mm silná, pak nůž a šroub z pružinovou podložkou. za ty roky posekala šutráků bez jakéhokoliv poškození. Stejné řešení je i na pár let staré husqvarně.
Unášecí kolíky ee
Gdyž sa chce, tak ide fšecko...
Britt
Příspěvky: 1830
Registrován: 8. 5. 2019, 5:36

17. 6. 2022, 4:39

Přesně tak Zbyňku, ty kolíky jsou na dvě věci. Stačí udělat třecí podložku (třeba právě z Pertinaxu) a můžeš vesele sekat dál. Když kudla narazí na cizí předmět, má šanci se protočit a vesele běží dál.
Mex
Příspěvky: 10287
Registrován: 6. 2. 2014, 10:29

17. 6. 2022, 5:13

Na aku "strunovkách" se občas používají nějaké plastové čepele, které jsou upevněné na čepu.
Nedalo by se pro dospělou sekačku udělat plechové čepele, které by taky visely na čepech?
Možný by se dal vzít i ten původní unašeč, v místech původních čepů navrtat díry a dát tam 2 šroubky.
Čepele vystřihnout z plechu a trochu nabrousit.

Aspoň tak bych to (minimálně provizorně) rozchodil já.
Miltech
Sponzor fora
Příspěvky: 555
Registrován: 25. 10. 2009, 7:59
Bydliště: Kostelec na Hane

17. 6. 2022, 5:30

Tak přesně toto řešení jsem kdysi zvolil, když jsem si sekačku vyráběl. Nebyl to dobrý nápad!!. Po vypnutí se nože zastavily různě a pak vytvořily excentr a sekačka pěkně skočila. Pro hřídel to také nebylo to nejlepší. Nůž vcelku !!!
Mex
Příspěvky: 10287
Registrován: 6. 2. 2014, 10:29

17. 6. 2022, 6:04

Miltech píše: 17. 6. 2022, 5:30 Tak přesně toto řešení jsem kdysi zvolil, když jsem si sekačku vyráběl. Nebyl to dobrý nápad!!. Po vypnutí se nože zastavily různě a pak vytvořily excentr a sekačka pěkně skočila. Pro hřídel to také nebylo to nejlepší. Nůž vcelku !!!
Aha. díky za info.
A jak to bylo při vlastním sekání? Případně při najetí na šutr?
Fungovalo to dobře?

Pokud by byl problém jen s rozjezdem, tak tomu by se asi dalo celkem snadno zabránit kusem pružinového drátu, který by v klidu držel ty nože v definované poloze.
Miltech
Sponzor fora
Příspěvky: 555
Registrován: 25. 10. 2009, 7:59
Bydliště: Kostelec na Hane

17. 6. 2022, 7:03

Představa byla, že nůž uhne, ale při té rotaci to mělo takovou sílu, že se efekt moc nedostavil.
Mex
Příspěvky: 10287
Registrován: 6. 2. 2014, 10:29

17. 6. 2022, 7:39

Zajímavé.
Díky.
Uživatelský avatar
Thomeeque
Příspěvky: 9426
Registrován: 30. 1. 2012, 10:20
Bydliště: Mimo ČR

17. 6. 2022, 8:23

Díky všem za tipy a diskuzi, vzhledem k daným možnostem jsme to zmákli takto:

Image4366802830578941401.jpg
Image2667763169553457040.jpg
Image8910473225726616483.jpg
Šrouby jsme pak ještě zkrátili
Šrouby jsme pak ještě zkrátili

Seče to pěkně a větší náraz to imho zlikviduje podobně jako ty čepy. Pak bychom už tam vymysleli jiný unašeč (něco třecího).

Hezkou neděli, T.
mimooborová naplavenina • kolowratský zázrak™ • NPS • GCU • HirthCalc • ncDP.ino
atlan
Příspěvky: 3382
Registrován: 7. 2. 2011, 9:12

17. 6. 2022, 9:55

Na 3d tlaciarni som vytlacil podlozku z 2 capmi z kukurice, naniesol na povodny unadac cinske tycinkove lepilo a rychlo dotiahol.
Odpovědět

Zpět na „kdyz nebudes vedet kam“