soustruh SN 320

Vse o konvencnich strojich, nic o jejich prestavbe na cnc
Odpovědět
Uživatelský avatar
salus
Příspěvky: 1528
Registrován: 1. 9. 2013, 1:30
Bydliště: Chrudimsko

17. 5. 2023, 11:34

Tento soustruh tedy neznám, ale není v některém místě té drážky otvor, kudy by mohl nahromaděný olej stékat zpět do vřeteníku?
Soustruh: S-28 Žebrák
Stolní vrtačka: TOS V10A
Pásová pila: G5013W/400
Berči
Příspěvky: 49
Registrován: 5. 3. 2020, 11:50

18. 5. 2023, 11:16

,,salus" děkuju za obdivuhodný zájem o každou zvláštnost. V té drážce odváděcí otvor není, je v přírubě ve spodní části. Tendle nápad to vlastně asi vyřešil, bude to labyrint a olej se tam ani nedostane. Dík velice. Obr.
IMG_E2905.JPG
Milosh
Příspěvky: 11
Registrován: 5. 6. 2023, 2:06

8. 6. 2023, 8:11

Dobrý den,

tento soustruh sem objevil u souseda v dílně, a říkal že ho můžu využívat jak budu chtít, momentálně je na něm hromada práce s výměnou kapali, seřízení, apod.

Chci se jen zeptat jsem zvyklý pracovat na SV18 kde je doraz podélného posuvu, tudíž po určité ujeté délce sám posuv vypne, na SN320 nic takového asi nefunguje i kdybych ten doraz nechal vyrobit že?

Nemáte náhodou někdo kontakt kdo vyrábí nové tabulky na tento soustruh?

Děkuji
Berči
Příspěvky: 49
Registrován: 5. 3. 2020, 11:50

8. 6. 2023, 9:19

Zdar čerstvý kolego. Já bych si dovolil přidat pár vlastních poznatků s tímhle jarmarečním strojkem. Mám k němu posuvný bazmek který se tváří jako doraz podélných sáněk(je na něm dokonce měřítko) . ,,ALE" proti tomu šroubu je sice čep, jenže ten nikam nevede, takže pro zapnutí posuvu se ani nehejbe (nevyleze) . To je záhada. tady na diskuzích jsem četl že to nějak funguje, dokonce se vypínací síla dá seřizovat šroubkem dole pod páčkou zapínání posuvu. Taky by mně zajímalo kdo to takle vymyslel :roll:
IMG_2984.JPG
Jan Pravda
Příspěvky: 43
Registrován: 17. 9. 2019, 9:30

8. 6. 2023, 12:00

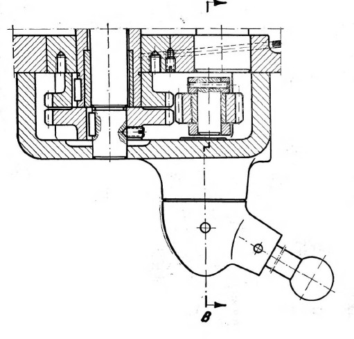
No on ten doraz funguje dost na hulvata :-) Proste hruba sila. Na supportu dole stelujes pritlacnou pruzinu ktera odpojuje hnaci kolo z nahonu na hreben na supportu. Jakmile se tahle sila prekona "posuv rozepne"

No a doraz pak funguje spis jako "naraz" proste uz to dal nemuze, support se o to opre, prekona se sila pruzny (snahou kol se otocit) a ty vyhodi. Na muj vkus mi to prislo moc drsne na denni pouzivani.

Takze viz muj "nacrtek" v manualu neni pohled zepredu (pridavam ten ze shora) - ted nevim presne poradi, ale je to jedno

1 - hnaci kolo z nahonu
2 - hnaci kolo na hreben supportu
Tyhle dve kola jsou za sebou a pri zapnuti posuvu se presune kolo 3 tak ze zabira zaroven pres obe kola 1+2

5 stelovak snad poznala vetsina :D pruzina a pres to jde na pace (pokud si to pamatuju dobre) na obrazku cislo 4 preskoci pri zapnuti posuvu pres hrot na pruzine.

No a jakmile se kolecko 2 zastavi (tzn support narazil) tak kolo 1 se porad toci a "vymackne" kolo 3 pokud se prekona sila pruziny (nastavena 5) pomoci zapadky 4
Přílohy
cmaranice.jpg
vykres.jpg
Milosh
Příspěvky: 11
Registrován: 5. 6. 2023, 2:06

8. 6. 2023, 12:16

Super a teď otázka za milion 😀 kde seženu tento doraz? 😀😀😀
Jan Pravda
Příspěvky: 43
Registrován: 17. 9. 2019, 9:30

8. 6. 2023, 12:28

Za ty roky co mam tenhle soustruh jsem na nej zatim nenarazil. Takze asi vyrobit ... jak jsem psal, neprijde mi to jako uplne stastne reseni no - nouzovej doraz jako asi budiz.
Milosh
Příspěvky: 11
Registrován: 5. 6. 2023, 2:06

8. 6. 2023, 6:33

Nemoh by tu někdo dát nějaký náčrt? Protože opravdu bez toho bude komplikované vyrobit délky na 0.1mm.
Uživatelský avatar
salus
Příspěvky: 1528
Registrován: 1. 9. 2013, 1:30
Bydliště: Chrudimsko

9. 6. 2023, 4:55

Berči píše: 8. 6. 2023, 9:19 Zdar čerstvý kolego. Já bych si dovolil přidat pár vlastních poznatků s tímhle jarmarečním strojkem. Mám k němu posuvný bazmek který se tváří jako doraz podélných sáněk(je na něm dokonce měřítko) . ,,ALE" proti tomu šroubu je sice čep, jenže ten nikam nevede, takže pro zapnutí posuvu se ani nehejbe (nevyleze) . To je záhada. tady na diskuzích jsem četl že to nějak funguje, dokonce se vypínací síla dá seřizovat šroubkem dole pod páčkou zapínání posuvu. Taky by mně zajímalo kdo to takle vymyslel :roll: IMG_2984.JPG
Stejný systém vypínání posuvu použili i v továrně u Volmanů, na soustruhu S28 je to obdobné a protože SN320 je vlastně klon S28 tak to rumuni použili taky. Funguje to docela dobře a to i na příčný posuv.
Soustruh: S-28 Žebrák
Stolní vrtačka: TOS V10A
Pásová pila: G5013W/400
Sancho Panza
Příspěvky: 1077
Registrován: 6. 3. 2021, 12:50

9. 6. 2023, 6:07

Berči píše: 8. 6. 2023, 9:19 Zdar čerstvý kolego. Já bych si dovolil přidat pár vlastních poznatků s tímhle jarmarečním strojkem. Mám k němu posuvný bazmek který se tváří jako doraz podélných sáněk(je na něm dokonce měřítko) . ,,ALE" proti tomu šroubu je sice čep, jenže ten nikam nevede, takže pro zapnutí posuvu se ani nehejbe (nevyleze) . To je záhada. tady na diskuzích jsem četl že to nějak funguje, dokonce se vypínací síla dá seřizovat šroubkem dole pod páčkou zapínání posuvu. Taky by mně zajímalo kdo to takle vymyslel :roll: IMG_2984.JPG
Proč proboha máš potřebu komentovat věci, o kterých zjevně nic nevíš, neznáš a ani jsi nepoužíval?
Tahle koncepce vypínání posuvů normálně funguje a je použitá na spoustě mašin.
Pokud náhodou nefunguje, tak obvykle je problém buď v tom, že to je mechanicky zprasený (zasxxxx a nebo obvykle po napadení kutilem) a nebo v obsluze :lol: stroje.
Berči
Příspěvky: 49
Registrován: 5. 3. 2020, 11:50

9. 6. 2023, 9:17

Proč proboha máš potřebu komentovat věci, o kterých zjevně nic nevíš, neznáš a ani jsi nepoužíval?
Tahle koncepce vypínání posuvů normálně funguje a je použitá na spoustě mašin.
Pokud náhodou nefunguje, tak obvykle je problém buď v tom, že to je mechanicky zprasený (zasxxxx a nebo obvykle po napadení kutilem) a nebo v obsluze :lol: stroje.

Velice se omlouvám, že jsem si dovolil sem napsat. Je pravdou, jsem amatér, co se má chuť něco dozvědět a někdy ty dotazy někoho nadzvednou ale ne ve zlém. Slibuju že dorazy nebudu teda používat aby nevnikly škody na majetku a nedej bůh na zdraví pracovníka. :oops:
mirek53
Příspěvky: 224
Registrován: 9. 6. 2018, 8:52

9. 6. 2023, 10:19

Berči píše: 9. 6. 2023, 9:17 Slibuju že dorazy nebudu teda používat aby nevnikly škody na majetku a nedej bůh na zdraví pracovníka. :oops:
Tak to teda ne, koukej je normálně používat, tak jako generace předků, kteří ty dorazy normálně používali...😀
prochaska
Sponzor fora
Příspěvky: 8436
Registrován: 16. 7. 2006, 12:33
Bydliště: Praha Bohnice + Roudnice nad Labem
Kontaktovat uživatele:

9. 6. 2023, 12:50

Sancho Panza píše: 9. 6. 2023, 6:07 Tahle koncepce vypínání posuvů normálně funguje a je použitá na spoustě mašin.
Já je mám na SN50 řešené podobně a už jsem stačil konstatovat, že to řešení má určité mouchy. Hlavně když je nastavená velká vypínací síla, tak je opravdu velká a má snahu ten doraz posunovat po loži. Musí se utahovat fest, na nějaký elegantní stavěcí šroubek se dá zapomenout. Sám jsem to vyřešil vypínací silou nastavenou tak nízko, že to samo vyskočí při zapnutí rychloposuvu, což jsem ale zase vyřešil frekvenčákem s rozběhovou rampou (i jinak velmi praktické, doporučuji). Jenže já doma dělám samé titěrné věci, někdo kdo provozuje opravdické soustružení si holt musí dát pozor a utahovat to třeba momenťákem.
Aleš Procháska
Berči
Příspěvky: 49
Registrován: 5. 3. 2020, 11:50

10. 6. 2023, 7:34

Poklona, no a já si myslel, že by ten doraz moc cestovat neměl.
IMG_2987.JPG
Ten šroubek je slabej ale když to zapadne do hřebenu, tak kdo ví? Jinak kdyby někdo potřeboval, můžu sem dát obrázek s rozměrama.
prochaska
Sponzor fora
Příspěvky: 8436
Registrován: 16. 7. 2006, 12:33
Bydliště: Praha Bohnice + Roudnice nad Labem
Kontaktovat uživatele:

10. 6. 2023, 7:42

Tohle je samozřejmě vyšší level, na té SN50 to drží jen třením.
Aleš Procháska
Odpovědět

Zpět na „konvenční soustruhy“