Pokročil jsem k instalaci LinuxCNC abych si mohl proklikat Halshow a v gmoccapy si vyzkoušet jestli mi nechybí některé prvky na ovládacím panelu než jej dám vypálit ale narazil jsem na problém.
Nainstaloval jsem čistý Debian bookworm amd64 preempr_rt 6.1.55-1 a poté LinuxCNC 2.9.1
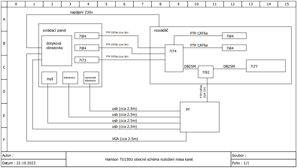
Mám mesu 7i92 (FPGA) a k ní 7i77 (analogová) v konektoru P1 + 7i74 (8x rs422) v konektoru P2.
Do 7i92 jsem naflešoval 7i92_7i77_7i74D.bit, bohužel tato sestava v pncconf není a ani discovery option nefungoval, tak jsem zvolil jen 7i92_7i77 a 7i74 pak v souboru dopíšu ručně.
K problému: v halshow nevidím analogové vstupy do mesy 7i77 (analogin), v návodu se píše že se musím nastavit mód 1 nebo 2, zkoušel jsem sserial_port_0=200xxxxx, sserial_port_0=020xxxxx, sserial_port_0=222xxxxx, sserial_port_0=2xxxxxxx, sserial_port_1=200xxxxx, sserial_port_2=222xxxxx ale bez úspěchu
napájení 5v v 7i77 mám, zkoušel jsem restartovat pc - bez změny.
Kde přesně by se měly v stromu Halshow ty piny zobrazit? snad jsem je někde nepřehlídl.
Čeho jsem si ale všiml, PNCconf na mě řval že mu chybí hostmot2 v /lib/firmware/hm2/ a ani složku usr\share\doc\hostmot2-firmware-5i25\ kde jsem chtěl nahrát soubor .PIN jsem nenašel. Když jsem chtěl hostmot2 doinstalovat (jak se píše zde
https://www.linuxcnc.org/docs/html/driv ... g_firmware) tak synaptic nic nenašel. Zajímavé ale je že LinuxCNC má v .HALu hned na startu loadrt hostmot2 ale žádný error že by mu tato komponenta chyběla na mě nevyplivl, v stromku dokonce vidím řádky s hm2. Kde je teda pravda? chybí jen část hm2 a nebo v této relativně moderní verzi LinuxCNC něco změnili a to co chybí PNCconfu je v pořádku?
ANALOG INPUTS
All field input pins are capable of reading the input voltage. These are not highly
accurate or high resolution but can be useful for things like potentiometer inputs. Input
resolution is 8 bits and input full scale value is 36.3V. Accuracy is +-5%. Software process
data modes 1 and 2 allow reading the analog voltage on inputs 0 through 3, in addition to
the 32 digital bit inputs