Tak jsem si shlédl slušné video o stření nástrojů a zaujala mě jedna věc. Jak to mají konstrukčně vyrobené, že sesousledí úhel břitu frézy a to plynule. Mám jeden nápad jak by to bylo realizovatelné, ale nechám na ostatních nápadech.
Co vy na to odborníci.
https://youtu.be/bxKvSLC4U_Y?t=73" onclick="window.open(this.href);return false;
Bruska-Jak toto funguje
bednar.dk@seznam.cz
SolidWorks 2011
Zakázková výroba jednoúčelových strojů
konstrukce strojů, automatizace,
http://www.indops.cz" onclick="window.open(this.href);return false;
SolidWorks 2011
Zakázková výroba jednoúčelových strojů
konstrukce strojů, automatizace,
http://www.indops.cz" onclick="window.open(this.href);return false;
- robokop
- Site Admin
- Příspěvky: 23269
- Registrován: 10. 7. 2006, 12:12
- Bydliště: Praha
- Kontaktovat uživatele:
tam je takovej opernej palec po kterym to jezdi
takze je to vlastne kopirovaci pohyb
https://www.google.cz/search?q=mill+gri ... l+grinding" onclick="window.open(this.href);return false;
takze je to vlastne kopirovaci pohyb
https://www.google.cz/search?q=mill+gri ... l+grinding" onclick="window.open(this.href);return false;
Vsechna prava na chyby vyhrazena (E)
řekl bych, že jsi to nikdy ani nevidělrobokop píše:tam je takovej opernej palec po kterym to jezdi
takze je to vlastne kopirovaci pohyb
https://www.google.cz/search?q=mill+gri ... l+grinding" onclick="window.open(this.href);return false;
- robokop
- Site Admin
- Příspěvky: 23269
- Registrován: 10. 7. 2006, 12:12
- Bydliště: Praha
- Kontaktovat uživatele:
aha ja myslel ze to je ten system co to kopiruje
moje nepozornost
omlouvam se
samozrejme tyhle sinusovy prevody jsem taky potkal i kdyz malinko jinde
ale prekouknul jsem se
moje nepozornost
omlouvam se
samozrejme tyhle sinusovy prevody jsem taky potkal i kdyz malinko jinde
ale prekouknul jsem se
Vsechna prava na chyby vyhrazena (E)
Palec nee.
bednar.dk@seznam.cz
SolidWorks 2011
Zakázková výroba jednoúčelových strojů
konstrukce strojů, automatizace,
http://www.indops.cz" onclick="window.open(this.href);return false;
SolidWorks 2011
Zakázková výroba jednoúčelových strojů
konstrukce strojů, automatizace,
http://www.indops.cz" onclick="window.open(this.href);return false;
To mi jako chceš říct, že natočením toho ložiska, které se odvaluje po té hřídeli, to funguje takto přesně?milan584 píše:Nic složitého
bednar.dk@seznam.cz
SolidWorks 2011
Zakázková výroba jednoúčelových strojů
konstrukce strojů, automatizace,
http://www.indops.cz" onclick="window.open(this.href);return false;
SolidWorks 2011
Zakázková výroba jednoúčelových strojů
konstrukce strojů, automatizace,
http://www.indops.cz" onclick="window.open(this.href);return false;
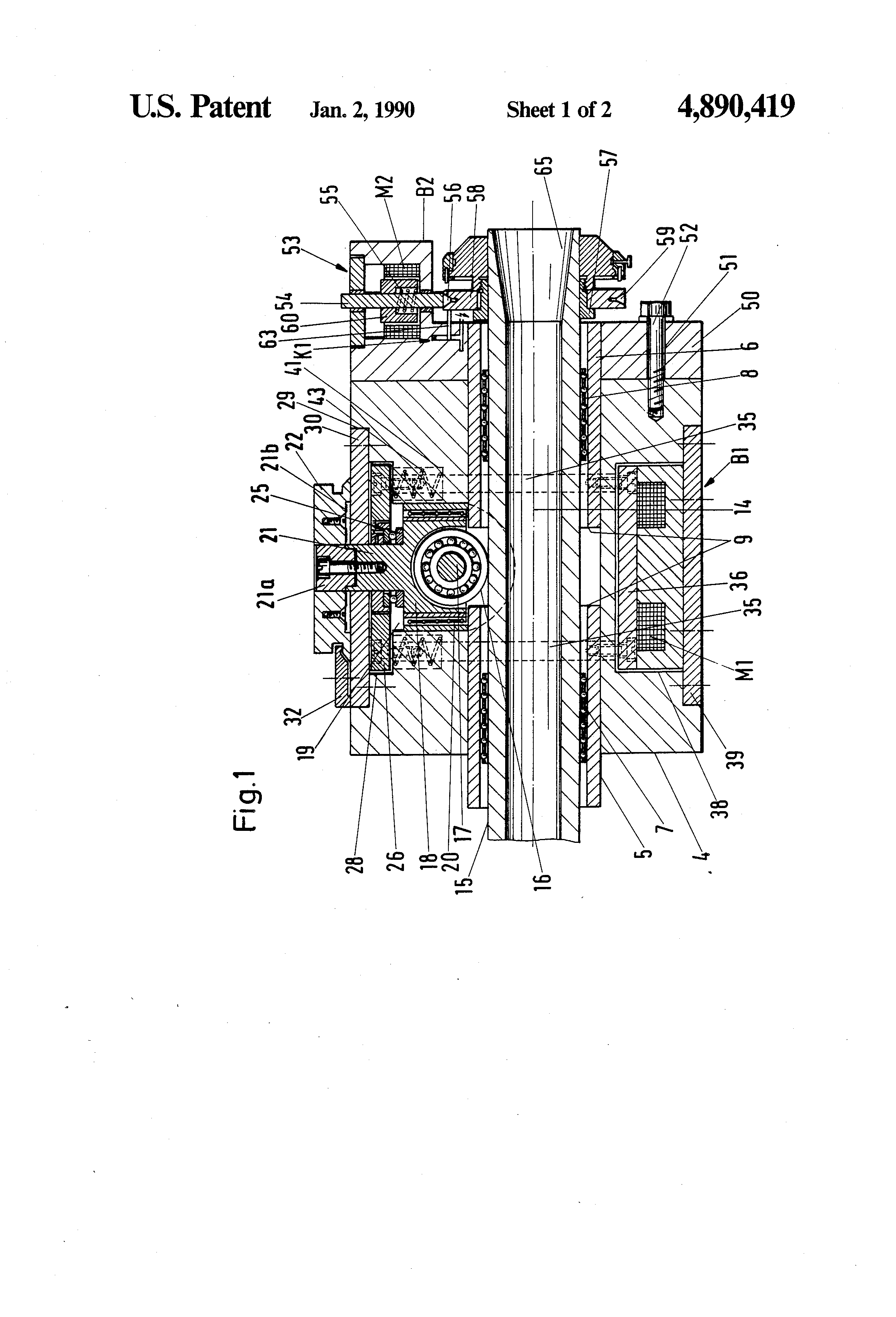
Nechci říkat vůbec nic - ale Novatech (nástupce Christena) to má takto patentované - tečka.Mad_BOXs píše:To mi jako chceš říct, že natočením toho ložiska, které se odvaluje po té hřídeli, to funguje takto přesně?milan584 píše:Nic složitého
Možná ten patent ale mají jen pro zmatení nepřátel
