Muj zdrojík
Ahojky. Zacina se mi malinko rysovat vzhled zdroje pro par krokovych motorku a vyhledove nejake dalsi elektroniky. Napeti zdroje je Gratzem usmernenych 29V (takze asi neco kolem 40V DC) a to same pro asi 9V DC. Kazde napeti ma svuj toroidni transformatorek. Ten na 29V ja 400VA takze to dohromady vazi docela dost
. Na vstupu i na vystupu 29V toroidu jsou vykonove rezistory, ktere se postupne po casovem intervalu danem AT-tiny13 zkratuji relatkama. Takze zdroj nabehne pekne mekce, nezkracuje zivotnost elektrolytu a pak jede pekne na plny vykon. Pro pokoukani prikladam par obrazku. Vnitrek neni jeste vydratovany, ale uz se to blizi funkcnimu stavu. Samozrejme jeste musim dovnitr nacpat nejakou tu kapacitu podle volneho mista 
Hezký, ale proč tak složitě ? Náběh proudu po zapnutí se spolehlivě a levně řeší negativním termistorem. Každá takováhle opičárna jen komplikuje a prodražuje konstrukci a ve finále snižuje spolehlivost. 5V řeším jednoduchým spínaným zdrojem.
Co se zkazí tim že tam není?? Nikde ho nemám a nic si nijak nestěžuje a nehoří?úNáběh proudu po zapnutí se spolehlivě a levně řeší negativním termistorem
U těchto malých příkonů to zas takový problém není, obvykle se to řeší u transformátorů od 500 VA výše a/nebo filtračních kapacit od 0,1 F výše. Jde o nabíjecí proud po zapnutí. Filtrační kondenzátory se nabíjejí a zdoj jde v podstatě do zkratu daného jen sériovým odporem kondenzátorů a přívodů. Čím ujsou kvalitnější, tím větší proudový náraz při zapnutí vyvolají, když se nabíjejí. Což samozřejmě nesvědčí kondenzátorům, ale hlavně filtračním diodám. Pro tyhle proudy se to celkem lacino vyřeší předimenzováním diod (20A můstek stojí pár desetikorun) a NTC termistorem v primárním vinutí. Pokud by jsi měj větší filtrační kapacitu (cca od 0,1 F) musel bys to řešit nabíjecím obvodem pro kondenzátor s omezením proudu (nejjednodušší řešení je sériový rezistor zkratovaný po dosažení nějakého minimálního napětí tyristorem nebo relátkem).
Nedalo by se na tento pomalý náběh použít elektronický regulátor z flexy? Ta má v sobě plynulý rozběh otáček. A je to na 230V.
bednar.dk@seznam.cz
SolidWorks 2011
Zakázková výroba jednoúčelových strojů
konstrukce strojů, automatizace,
http://www.indops.cz" onclick="window.open(this.href);return false;
SolidWorks 2011
Zakázková výroba jednoúčelových strojů
konstrukce strojů, automatizace,
http://www.indops.cz" onclick="window.open(this.href);return false;
Možná ano, ale je to zbytečně složité. Pro 400 VA trafo stačí sériový NTC termistor za 15 Kč v sérii s primárním vinutím:
http://www.ezk.cz/e-shop/select.php?sad ... ozsah=vse2
http://www.ges.cz/?page=index&or=sort&i ... ES05313337
http://www.ezk.cz/e-shop/select.php?sad ... ozsah=vse2
http://www.ges.cz/?page=index&or=sort&i ... ES05313337
Neřeší. Před chvílí jsem se na to ptal tady: http://www.c-n-c.cz/viewtopic.php?t=2347Aeroomni píše:OK dík zatím vyšší dívčíA tyto desky to předpokládám už řeší..
http://cncshop.cz/PS2.htm
Radek
soustruh Bernardo 500, frézka Proxxon
(CNC Tron, CNC Proxxon MF70)
(CNC Tron, CNC Proxxon MF70)
Ano. Pokud nekdo skudli kazdou korunu a vi o elektrice jen ze kope tak je cokoliv vice nez termistor na skodu. Pokud ale nekdo chce ovlivnit nabijeci proudy cele soustavy a uzna ze 600 kč se v ceně frezky zcela urcite ztrati tak si muze postavit neco vice. Jelikoz to neni komercni reseni tak bych se zhorsene spolehlivosti rozhodne nebal a spise ulezcim zivot par kondikum a rozvodu elektriny v byte
Nicmene nikoho ke stavbe nenabadam ani mu ji nevnucuji pouze jsem dal par foto at je na foru na chvilicku neco noveho na skouknuti 
(Na otazku proc tak slozite? Pro nekoho slozite pro nekoho jednoduse. Na omezeni proudu rezistorem nevidim nic sloziteho, stejne tak na jeho vyrazeni relatkem po nabidi kondiku. Kdybych to chtel delat sloziteji a mel na to cas a chut tak navrhnu spinany zdroj s pozadovanymi parametry
)
(Na otazku proc tak slozite? Pro nekoho slozite pro nekoho jednoduse. Na omezeni proudu rezistorem nevidim nic sloziteho, stejne tak na jeho vyrazeni relatkem po nabidi kondiku. Kdybych to chtel delat sloziteji a mel na to cas a chut tak navrhnu spinany zdroj s pozadovanymi parametry
zial.. tie NTC-cka nepovazujem za dlhodobo spolahlive riesenie. Pouzival som ich pri toroidoch na napajanie halogenov .. a po nejakom tom roku (podla toho casto ako sa zapinalo svetlo ? ) proste NTC "streli" ... pritom halogeny mali pozvolny nabeh na sekundarnej strane (triak riadeny fazovym posuvom). Pokus premostovat po paru sekundach NTC relatkom sa zdal slubny .. ale nakoniec to dnes povazujem za nepotrebnu komplikaciu . NTC-cka padali kvoli inej pricine .. ta sa prejavovala v case, ked este neboli premostene. (bavim sa o cca 8 - 10 ziarovkach po 40W napajanych z vacsieho toroidu).
Po case potom odchadali aj toroidne trafa ... (pricina - predrete vinutie primaru .. chybna impregnacia). Pekne padali aj toroidy ktore boli predimenzovane (600W toroid na cca 360W prikon).
Kedze do cca 3 rokov bola chybovost takehoto riesenia vysoka (a naklady nie len na NTC ale hlavne trafa sli prudko hore), bolo zvolene klasicke trafo s EI plechmi, tiez NTC pred neho (proste tam ostali po starych trafach). Od toho momentu je to zdrave.
Problem toroidu je, ze prenasa zo sekundaru kazdy naraz na primar. Zapnutie halogenov aj ked mali pozvolny nabeh zrejme predstavuje aj tak neprijemny dej. NTC tych narazov zrejme tiez neznesie vela. mozno zalezi aj od vyrobcu .. ale po tejto skusenosti toroidy nepozivam. (za cca 3 roky zhorelo cca 15 traf co je cca 60% z celkovoho poctu instalovanych v danom objekte NTC sa ani nepocitali). V tom case sme skusali este jednu vec .. za toroid instalovat tlmivku (heh bola samozrejme vacsia ako toroid
) a tato vetva neodisla... Ale naco tlmit prud tlmivkou ked vyhodna nedokonalost klasickeho trafa s EI plechmi to nahradza ?
Nebudem zovseobecnovat .. toroidne trafo ma nesporne svoje vyhody .. ale pokial v nejakej aplikacii prave tieto "vyhody" komplikuju konstrukciu, je vhodne siahnut po maksom trafe, kde rozptylove pole samo o sebe utlmi prudovy naraz.
Po case potom odchadali aj toroidne trafa ... (pricina - predrete vinutie primaru .. chybna impregnacia). Pekne padali aj toroidy ktore boli predimenzovane (600W toroid na cca 360W prikon).
Kedze do cca 3 rokov bola chybovost takehoto riesenia vysoka (a naklady nie len na NTC ale hlavne trafa sli prudko hore), bolo zvolene klasicke trafo s EI plechmi, tiez NTC pred neho (proste tam ostali po starych trafach). Od toho momentu je to zdrave.
Problem toroidu je, ze prenasa zo sekundaru kazdy naraz na primar. Zapnutie halogenov aj ked mali pozvolny nabeh zrejme predstavuje aj tak neprijemny dej. NTC tych narazov zrejme tiez neznesie vela. mozno zalezi aj od vyrobcu .. ale po tejto skusenosti toroidy nepozivam. (za cca 3 roky zhorelo cca 15 traf co je cca 60% z celkovoho poctu instalovanych v danom objekte NTC sa ani nepocitali). V tom case sme skusali este jednu vec .. za toroid instalovat tlmivku (heh bola samozrejme vacsia ako toroid
Nebudem zovseobecnovat .. toroidne trafo ma nesporne svoje vyhody .. ale pokial v nejakej aplikacii prave tieto "vyhody" komplikuju konstrukciu, je vhodne siahnut po maksom trafe, kde rozptylove pole samo o sebe utlmi prudovy naraz.
Mám s těma toroidama podobnou zkušenost, ale přičítal jsem to tomu, že jsem je měl špatně upevněné nebo že je u nás výrobci bastlí na koleně a nemají na to stroj. Přeci jen ten jeden dluhý šroub v prostředku chycený dole do plechu moc vibrací neutlumí.
NTCčka se musejí zafixovat. Běžně u nás prodávané typy chycené jen na nožičkách se časem vlivem vibrací uklepou. Kdysi jsem někde dostal pár ks termistorů k tomu určenách a ty mají na sobě závit za který se napevno přišroubují.
NTCčka se musejí zafixovat. Běžně u nás prodávané typy chycené jen na nožičkách se časem vlivem vibrací uklepou. Kdysi jsem někde dostal pár ks termistorů k tomu určenách a ty mají na sobě závit za který se napevno přišroubují.
Naposledy upravil(a) gnat dne 5. 3. 2009, 9:57, celkem upraveno 1 x.
Nechtěl jsem se tě dotknout, jen se tady pár lidí vylekalo, že něco podcenili a chtěl jsem říct, že se to dá dělat jednoduššeji a levněji.CZ_Pascal píše:Ano. Pokud nekdo skudli kazdou korunu a vi o elektrice jen ze kope tak je cokoliv vice nez termistor na skodu. Pokud ale nekdo chce ovlivnit nabijeci proudy cele soustavy a uzna ze 600 kč se v ceně frezky zcela urcite ztrati tak si muze postavit neco vice. Jelikoz to neni komercni reseni tak bych se zhorsene spolehlivosti rozhodne nebal a spise ulezcim zivot par kondikum a rozvodu elektriny v byteNicmene nikoho ke stavbe nenabadam ani mu ji nevnucuji pouze jsem dal par foto at je na foru na chvilicku neco noveho na skouknuti
(Na otazku proc tak slozite? Pro nekoho slozite pro nekoho jednoduse. Na omezeni proudu rezistorem nevidim nic sloziteho, stejne tak na jeho vyrazeni relatkem po nabidi kondiku. Kdybych to chtel delat sloziteji a mel na to cas a chut tak navrhnu spinany zdroj s pozadovanymi parametry)
Ta konstrukce na mě působí složitě (použít mikrokontrolér na obyčejné zpožděné spínání mi přijde trochu úchylné) a přitom trochu poddimenzovaně. Nevím, jak to máš přesně zapojené, tipnul bych si, že ty odpory jsou v sérii a přemosťují se postupně. Ta relé, co jsi zvolil, mají poměrně malou zatížitelnost kontaktů a velký přechodový odpor, takže to na mě nepůsobí příliš důvěryhodně. Ten 400 VA torroid je schopen dát krátkodobě na sekundáru (řády sekund) proud kolem 30 A.
P.S. Jak chceš řešit ochranu před dotykovým napětím ? Vidím třídrátovou síťovou zásuvku, což by odpovídalo ochraně zeměním, ale přitom ta plastová skříň to dost komplikuje. Není mi jasné, jak chceš v té plastové skříni zemnit např. ty šrouby co drží transformátory ?
Není problém dát pod ten šroubek očko a vydratovat to na ochranou zem. Tento konektor jsem pouzil protoze se mi doma vali zbytecna snura do PC (nejedna). Na sekundru jsou dve relátka zapojena paralelně aby vydrzela pripadny proudovy naraz (kolem 30A), ale protoze zatim predpokladam odbery do 6A (stredni hodnota) tak jsem to nehrotil a pouzil co suplik dal. Nevím co je na mikrokontroleru slozite a poddimenzovane. Doposavad me spise prekvapila jejich spolehlivost v konstrukcich co jsem bastlil
Pokud se k nim clovek chova pekne tak se mu odvdeci fungovanim. Cena 20kc za procik co se vali v supliku a da se jednoduchym programkem zvolit cas sepnuti "jak se mi bude zrovna libit" neni zas tak hrozna.
Dale jsem psal ze se nejedna o komercni reseni takze me netrapi nejake schvalovani pro technickou zpusobilost k provozovani (to by to opravdu muselo vypadat jinak).
Urcite by se dalo vymyslet za podobnou cenu lepsi zapojeni, ale to uz bych nad tim musel premyslet. Takhle jsem "nasypal na tistak" par soucastek jak se mi zrovna kde ktera valela a vyrobyl to. Taky jsem si vyzkousel chemicke postribreni desky a podobny blbosti abych to mohl pouzit pro dalsi hracky co hodlam stavet.
Proste jsem delal to co hobiste delaji : hral jsem si
Vysledek je z meho pohledu pouzitelny a pokud se objevi slabina jsem schopen si pohrat dale a dolatit to.
Dale jsem psal ze se nejedna o komercni reseni takze me netrapi nejake schvalovani pro technickou zpusobilost k provozovani (to by to opravdu muselo vypadat jinak).
Urcite by se dalo vymyslet za podobnou cenu lepsi zapojeni, ale to uz bych nad tim musel premyslet. Takhle jsem "nasypal na tistak" par soucastek jak se mi zrovna kde ktera valela a vyrobyl to. Taky jsem si vyzkousel chemicke postribreni desky a podobny blbosti abych to mohl pouzit pro dalsi hracky co hodlam stavet.
Proste jsem delal to co hobiste delaji : hral jsem si
Vysledek je z meho pohledu pouzitelny a pokud se objevi slabina jsem schopen si pohrat dale a dolatit to.
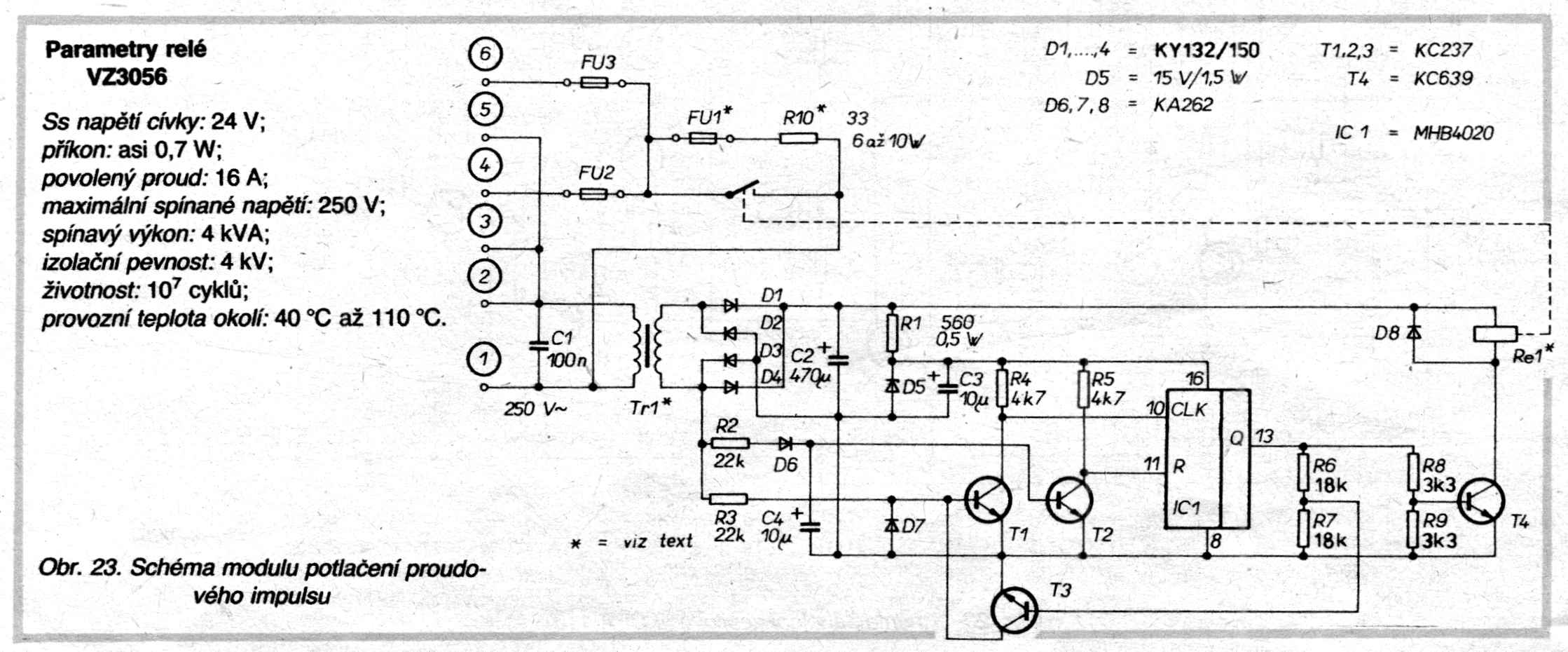
...při zapínání výkonového zdroje například u koncového audio zesilovače 2x400Wsinus,
který má trafo kolem 1600VA a odpovídající filtrační kondezátory je na primární straně
takového trafa zapojen zmiňovaný softstart obvod...takový zesilovač dokáže snadno při zapnutí bez tohoto opatření shodit bytový jistič 16A...ve zvukařské praxi na instalacích
konzertních aparartur na jevišti bývá zesilovačů celá řada a jsou sice připojeny na silnou
přípojku 3x400V ,ale i tam by snadno došlo při zapnutí bez softstartů k výpadku jističů,
ovšem silnějších a tedy mnohem dále než jen za dveřmi bytu...
kdo má silněší krokové motory nebo DCserva se silnějším zdrojem může tento doplňkový obvod použít...
původní pramen je Amatérské Radio autorem je Pavel Dudek

který má trafo kolem 1600VA a odpovídající filtrační kondezátory je na primární straně
takového trafa zapojen zmiňovaný softstart obvod...takový zesilovač dokáže snadno při zapnutí bez tohoto opatření shodit bytový jistič 16A...ve zvukařské praxi na instalacích
konzertních aparartur na jevišti bývá zesilovačů celá řada a jsou sice připojeny na silnou
přípojku 3x400V ,ale i tam by snadno došlo při zapnutí bez softstartů k výpadku jističů,
ovšem silnějších a tedy mnohem dále než jen za dveřmi bytu...
kdo má silněší krokové motory nebo DCserva se silnějším zdrojem může tento doplňkový obvod použít...
původní pramen je Amatérské Radio autorem je Pavel Dudek