14. 2. 2014, 11:13
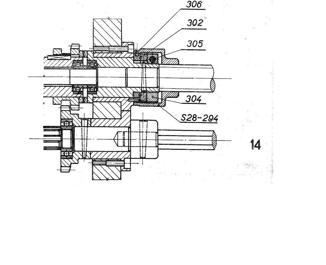
Tak o těch bakelitových páčkách už jsem také přemýšlel. Než jsem koupil tu mojí S-28, kde jsou všechny OK, tak jsem měl nabídky jiných S-28, kde byly některé ty páčky uražené a proto už jsem předem přemýšlel co s tím. Protože jsem předpokládal, že jako origo díl nebudou k sehnání, měl jsem vymyšlenou tuto variantu: Vzít nepoškozenou páčku a podle ní udělat formu (třeba z lukoprenu, možná by stačila i sádrová) a páčku odlít z HEFFEDU, musely by se pak asi ještě dokončit otvory, ale to by nemusel být až zas tak velký problém. Naštěstí jsem zatím tento postup nemusel absolvovat. Ještě také varianta vyrobit něco podobného jako je na přiloženém obrázku, protože takové páčky se také na S-28 přímo u výrobce dávaly.
Co se týká olejů tak jse to již také řešil. Na můj dotaz přímo v PARAMU Pardubice, kde jsem vznesl dotaz s parametry původního oleje který doporučoval výrobce stroje pro mazání vřetena a rychlostní skříně (viskozita E 1,5 při 50 st. Celsia) mě byla nabídnuta ekvivalentní náhrada a to olej PARAMO OL-J10. Co se týká suportové skříně tam mi byl doporučen olej OL-B5, ten se sice stále vyrábí, ale přímo v podnikové prodejně PARAMO mi bylo řečeno, že minimální balení tohoto oleje je 200litrový sud. Takže vzhledem k tomu, že suportová skříň a lože nebude na druh mazacího oleje tak kritická tak tam dávám OL-J100, který je v 10l balení, bude to sice na X let ale to nevadí.
-
Přílohy
-

Soustruh: S-28 Žebrák
Stolní vrtačka: TOS V10A
Pásová pila: G5013W/400