Proxxon LHW

Uživatelský avatar
tumlik
Sponzor fora
Příspěvky: 3821
Registrován: 19. 12. 2007, 8:20
Bydliště: já su z Moravskej :-)
Kontaktovat uživatele:

9. 12. 2023, 11:24

ahoj
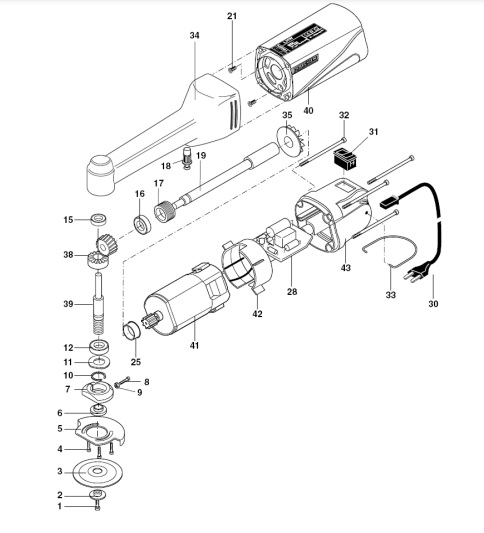
nemá někdo tuhle brusku nebo vrtačku?, potřebuju to na takové malinké vybrušování, mám i deckela s úhlovým nástavcem, ale to není ono, každopádně mě zarazilo, že to nemá regulaci, což bych chtěl, tak jsem se koukl na úhlovou vrtačku LWB a ta ji má, zdá se mi podle rozkladu, že jsou to stejný kousky až na ten vrchní úhlový převod, ale to se mi zdá jen ručně domalované, otáčky by měly být stejné
říkal jsem si, že bych radši koupil vrtačku a tu přírubu na kotouče si dodělal, nebo se to dá i objednat od němce :D https://www.fluidonline.de/proxxonmicro ... leifer-lhw

tak se chci zeptat, jestli to ukončení té hlavy je stejné jak na vrtačce :wink:
bruska.jpg
vrtačka.jpg
http://www.tumlikovo.cz/
Popularizační web nástrojařství a kovoobrábění
Uživatelský avatar
pafik
Příspěvky: 3085
Registrován: 10. 2. 2013, 5:07
Bydliště: Praha 4

9. 12. 2023, 2:48

Já mám brusku, ale když nemám vrtačku, tak těžko něco porovnávat .... :)
Uživatelský avatar
tumlik
Sponzor fora
Příspěvky: 3821
Registrován: 19. 12. 2007, 8:20
Bydliště: já su z Moravskej :-)
Kontaktovat uživatele:

9. 12. 2023, 3:43

pafik píše: 9. 12. 2023, 2:48 Já mám brusku, ale když nemám vrtačku, tak těžko něco porovnávat .... :)
Hmm, to je fakt :D ...a nechceš si tu vrtačku koupit a pak mně dát vědět? :lol:

Ale aspoň teda bych potřeboval jestli je ten závit pro ten imbus kterým dotahujes ty kotouče v té spodní prirube a nebo přímo v té hřídelce?
http://www.tumlikovo.cz/
Popularizační web nástrojařství a kovoobrábění
Uživatelský avatar
pafik
Příspěvky: 3085
Registrován: 10. 2. 2013, 5:07
Bydliště: Praha 4

10. 12. 2023, 9:42

Tvoje nabídka je lákavá, ale dokud mi pětidemolice nevrátí kus důchodu, kterej mi ukradla, tak bohužel :P .
Posílám ti fotku na SZ. Abych to dával sem. je to dost veliký, a když to zkomprimuju, tak to zase nemusí být dobře vidět. Za sebe bych řekl, že ten imbus má závit až v hřídelce.
Stran regulace; jen kvůli tobě jsem našel starou regulaci s tyristorem, dělanou ještě za Husáka. Otáčky to reguluje, ale je to hrozně trhaný, v praxi nepoužitelný. Jak je to celý titěrný, tak tomu chybí moment setrvačnosti, kterej to u klasický vrtačky zklidní. Pokud by tady měla být regulace, tak jiným způsobem, ne jedním tyristorem, kterej usekává část sinusovky.
Uživatelský avatar
Habešan
Příspěvky: 1194
Registrován: 12. 12. 2013, 2:25
Bydliště: Čechy
Kontaktovat uživatele:

10. 12. 2023, 10:06

Možná by pomohlo dát alespoň výřez z té fotky.
Je řeč konkrétně o Proxxon 28547 a Proxxon 28492 ???
Koupím hliníkové profily délky cca 60cm, nabízím 90,-Kč/kg.
Uživatelský avatar
tumlik
Sponzor fora
Příspěvky: 3821
Registrován: 19. 12. 2007, 8:20
Bydliště: já su z Moravskej :-)
Kontaktovat uživatele:

10. 12. 2023, 12:35

pafik píše: 10. 12. 2023, 9:42 Tvoje nabídka je lákavá, ale dokud mi pětidemolice nevrátí kus důchodu, kterej mi ukradla, tak bohužel :P .
Posílám ti fotku na SZ. Abych to dával sem. je to dost veliký, a když to zkomprimuju, tak to zase nemusí být dobře vidět. Za sebe bych řekl, že ten imbus má závit až v hřídelce.
Stran regulace; jen kvůli tobě jsem našel starou regulaci s tyristorem, dělanou ještě za Husáka. Otáčky to reguluje, ale je to hrozně trhaný, v praxi nepoužitelný. Jak je to celý titěrný, tak tomu chybí moment setrvačnosti, kterej to u klasický vrtačky zklidní. Pokud by tady měla být regulace, tak jiným způsobem, ne jedním tyristorem, kterej usekává část sinusovky.
:D :D
každopádně dík za fotku, myslím, že ta hřídelka na brusce bohužel je s vnitřním závitem, zatím co vrtačka má klasicky dutinku na kleštinky, protože ta spodní přírubička má jen závit přímo na hřídelku https://www.fluidonline.de/proxxonmicro ... 6687_25002 a u náhradní hřídelky je číslo 28547-39 krátká, tak to je blbý, koupím teda asi spíš tu brusku a oželím regulaci, ale je to škoda, moc to nechápu, že tam není regulace :)
Habešan píše: 10. 12. 2023, 10:06 Možná by pomohlo dát alespoň výřez z té fotky.
Je řeč konkrétně o Proxxon 28547 a Proxxon 28492 ???
ano, je to Proxxon 28547
http://www.tumlikovo.cz/
Popularizační web nástrojařství a kovoobrábění
Sancho Panza
Příspěvky: 1218
Registrován: 6. 3. 2021, 12:50

10. 12. 2023, 1:40

tumlik píše: 10. 12. 2023, 12:35
pafik píše: 10. 12. 2023, 9:42 Tvoje nabídka je lákavá, ale dokud mi pětidemolice nevrátí kus důchodu, kterej mi ukradla, tak bohužel :P .
Posílám ti fotku na SZ. Abych to dával sem. je to dost veliký, a když to zkomprimuju, tak to zase nemusí být dobře vidět. Za sebe bych řekl, že ten imbus má závit až v hřídelce.
Stran regulace; jen kvůli tobě jsem našel starou regulaci s tyristorem, dělanou ještě za Husáka. Otáčky to reguluje, ale je to hrozně trhaný, v praxi nepoužitelný. Jak je to celý titěrný, tak tomu chybí moment setrvačnosti, kterej to u klasický vrtačky zklidní. Pokud by tady měla být regulace, tak jiným způsobem, ne jedním tyristorem, kterej usekává část sinusovky.
:D :D
každopádně dík za fotku, myslím, že ta hřídelka na brusce bohužel je s vnitřním závitem, zatím co vrtačka má klasicky dutinku na kleštinky, protože ta spodní přírubička má jen závit přímo na hřídelku https://www.fluidonline.de/proxxonmicro ... 6687_25002 a u náhradní hřídelky je číslo 28547-39 krátká, tak to je blbý, koupím teda asi spíš tu brusku a oželím regulaci, ale je to škoda, moc to nechápu, že tam není regulace :)
Habešan píše: 10. 12. 2023, 10:06 Možná by pomohlo dát alespoň výřez z té fotky.
Je řeč konkrétně o Proxxon 28547 a Proxxon 28492 ???
ano, je to Proxxon 28547
no, proč tam ta regulace u tý brusky není je podle mě celkem snadno odhadnutelný - protože logicky mají strach, že když si to koupí dumbhead , stáhne otáčky dolu a půjde brousit kolejnice :lol: :roll: tak to odpálí, protože se to vůbec nebude chladit. Btw (nevím na co to přesně chceš), ale s výběrem bych byl spíš opatrný - si to dobře vyzkoušel, protože podle vobrázků to fakt není stejný - jiný je převodový poměr, průměr ventilova látoru, typ ozubení na tom převodu (klasika kuželový kola, versus talířový) no a pokud je to jiný, tak rozhodně k tomu mají nějaký důvod - Prox nejsou blbci, takže si určitě nepřidělávají práci pro nic zanic.
Já osobně bych si vybral mechanicky vhodnější polotovar z těch dvou a tu výstupní hřídel stejně udělal novou - protože až budeš chtít v tom dělat něco trochu přesnýho, tak stejně to předěláš.
Mj, do toho proxxoňáckýho "konce" vleze dozadu za díru pro kleštinu ještě i M4, takže když to překopáš, tak se k tomu (obecně všechno, co má ten jejich konec) dají udělat normální výměnný trny na placatej klíček (jako na nástrojovku) a pak můžeš měnit kotouče včetně trnů, aniž bys to vždy musel orovnávat jako kxxxt (protože jim to všechno šmajdá). Bonusem pak je i že to má oproti kleštině nesrovnatelnou tuhost. Kleštiny ale (když si uděláš svoje přesný) tam dál můžeš používat - prostě jde tam pak vše - kleština, trn, sklíčidlo (to je taky takový dětský, odpovídající ceně).
Pro ilustraci trny a původní kleština a matice. Trny mají vzadu M4, já jí mám broušenou (aby to běželo), protože to používám (ty trny) i na malým dělaným vřetenu na malinký díry a i v držácích na naháněný nástroje. Když to ale uděláš slušně (závit kudlou), tak to asi taky půjde použít. Průměr a kužel a zbytek samozřejmě musíš obrousit - aby to nebyl shit. Samozřejmě je to tvrdý - aby to mělo trochu slušnou životnost. Délku si uděláš jakou chceš - na fotce jsou dvě délky.
trprox.jpg
jo a bliknul jsem Ti to na starý oranžádě s E + ES - aby tě to trochu nastartovalo a i potěšilo (aby to mělo truchu tu štábní kultůru) :lol:
Naposledy upravil(a) Sancho Panza dne 10. 12. 2023, 2:35, celkem upraveno 1 x.
Sancho Panza
Příspěvky: 1218
Registrován: 6. 3. 2021, 12:50

10. 12. 2023, 1:48

btw - ten regl v tom, podle mě bude nebude žádný produkt z SkunkWorks :lol: nejspíš je +- stejnej ve všem - cca něco takovýto - takže když to tam nebude, tak to ubastlíš, vetkneš dovnitř a díru pro ten poťák si tam taky vysmažíš.
viewtopic.php?t=13052
Uživatelský avatar
Habešan
Příspěvky: 1194
Registrován: 12. 12. 2013, 2:25
Bydliště: Čechy
Kontaktovat uživatele:

10. 12. 2023, 2:24

tumlik píše: 10. 12. 2023, 12:35
Habešan píše: 10. 12. 2023, 10:06Je řeč konkrétně o Proxxon 28547 a Proxxon 28492 ???
ano, je to Proxxon 28547
Tak to bychom měli tu brusku.
A jaké označení má ta vrtačka, se kterou ji porovnáváš ???
Sancho Panza
Příspěvky: 1218
Registrován: 6. 3. 2021, 12:50

10. 12. 2023, 2:27

že by 28492? (je to hned v prvním příspěvku).
https://www.nakol.cz/proxxon-28492-uhlo ... krkem-lwbe
Uživatelský avatar
tumlik
Sponzor fora
Příspěvky: 3821
Registrován: 19. 12. 2007, 8:20
Bydliště: já su z Moravskej :-)
Kontaktovat uživatele:

10. 12. 2023, 2:28

Habešan píše: 10. 12. 2023, 2:24
tumlik píše: 10. 12. 2023, 12:35
Habešan píše: 10. 12. 2023, 10:06Je řeč konkrétně o Proxxon 28547 a Proxxon 28492 ???
ano, je to Proxxon 28547
Tak to bychom měli tu brusku.
A jaké označení má ta vrtačka, se kterou ji porovnáváš ???
jo aha, psal jsme to v prvním postu LWB 28492 :wink:
http://www.tumlikovo.cz/
Popularizační web nástrojařství a kovoobrábění
Uživatelský avatar
tumlik
Sponzor fora
Příspěvky: 3821
Registrován: 19. 12. 2007, 8:20
Bydliště: já su z Moravskej :-)
Kontaktovat uživatele:

10. 12. 2023, 2:46

Sancho Panza píše: 10. 12. 2023, 1:40 (nevím na co to přesně chceš), ale s výběrem bych byl spíš opatrný - si to dobře vyzkoušel, protože podle vobrázků to fakt není stejný - jiný je převodový poměr, průměr ventilova látoru, typ ozubení na tom převodu (klasika kuželový kola, versus talířový) no a pokud je to jiný, tak rozhodně k tomu mají nějaký důvod - Prox nejsou blbci, takže si určitě nepřidělávají práci pro nic zanic.
Já osobně bych si vybral mechanicky vhodnější polotovar z těch dvou a tu výstupní hřídel stejně udělal novou - protože až budeš chtít v tom dělat něco trochu přesnýho, tak stejně to předěláš.
Mj, do toho proxxoňáckýho konce vleze M4, takže když to překopáš, tak se k tomu (obecně všechno, co má ten jejich konec) dají udělat normální výměnný trny na placatej klíček (jako na nástrojovku) a pak můžeš měnit kotouče včetně trnů, aniž bys to vždy musel orovnávat jako kxxxt (protože jim to všechno šmajdá). Bonusem pak je i že to má oproti kleštině nesrovnatelnou tuhost. Kleštiny ale (když si uděláš svoje přesný) tam dál můžeš používat - prostě jde tam pak vše - kleština, trn, sklíčidlo (to je taky takový dětský, odpovídající ceně).
Pro ilustraci trny a původní kleština a matice. Trny mají vzadu M4, já jí mám broušenou (aby to běželo), protože to používám (ty trny) i na malým dělaným vřetenu na malinký díry a i v držácích na naháněný nástroje. Když to ale uděláš slušně (závit kudlou), tak to asi taky půjde použít. Průměr a kužel a zbytek samozřejmě musíš obrousit - aby to nebyl shit. Samozřejmě je to tvrdý - aby to mělo trochu slušnou životnost. Délku si uděláš jakou chceš - na fotce jsou dvě délky.
trprox.jpg
jo a bliknul jsem Ti to na starý oranžádě s E + ES - aby tě to trochu nastartovalo a i potěšilo (aby to mělo truchu tu štábní kultůru) :lol:
tak teď jsi mně nasadil brouka do hlavy :wink: to by nebylo vůbec špatný, primárně jsem to chtěl jako malinkou brusku právě na ty 50mm kotoučky jen tak do ruky, tak abych na to viděl a kotouč měl v ose oka :D ta dremelka mně moc nesedí, je to takové kopitózní, držel jsem ten proxxon v ruce a docela se mně to zalíbilo

regulaci jsem si říkal na nějaký ten pilový kotouček, suchý zip atp. , tohle jak si posílal tak to je chytrý
http://www.tumlikovo.cz/
Popularizační web nástrojařství a kovoobrábění
Uživatelský avatar
pafik
Příspěvky: 3085
Registrován: 10. 2. 2013, 5:07
Bydliště: Praha 4

10. 12. 2023, 4:10

Habešan píše: 10. 12. 2023, 10:06 Možná by pomohlo dát alespoň výřez z té fotky.
Je řeč konkrétně o Proxxon 28547 a Proxxon 28492 ???
Ono se to koukám stejně v tý poště zkomprimovalo :(
IMG_20231210_103212_150.jpg
IMG_20231210_103212_150.jpg (31.92 KiB) Zobrazeno 3504 x
Teď jsem jí použil na rozřezání redukce do komína (podle kominíka jsem to udělal blbě, na keramickej komín se to mělo udělat jinak), sežralo mi to 3,5 kotoučku. Redukce z plechu 2 mm. Regulace otáček netřeba; stačí trochu přitlačit na kotouč :D
Sancho Panza
Příspěvky: 1218
Registrován: 6. 3. 2021, 12:50

10. 12. 2023, 4:44

tumlik píše: 10. 12. 2023, 2:46 tak teď jsi mně nasadil brouka do hlavy ...
ještě k tý regulaci otáček - podle mě tam bude muset bejt, protože ty malý kotouče (jak klasika, tak laminátky i gumovky) obecně jsou celkem šílený - nový šmajdají :roll: jako prase - klidně i milimetr :shock: a na plný otáčky se v začátku dost těžko orovnávají. Docela dobře to jde, stáhnout dolu točky (rozumně - aby se to dostalo mimo pásmo rezonancí a kmitání) a pak to orvat nahrubo monokrystalem. Přidat točky a už nekmitající dojet to napřesno (klidně i tvar) normálně prachovým špuntem (jako se používaly na Lindnerech a Reishauerech). Orovnat to musíš, jinak to je úplně napikaču.
Podložky to chce taky tvrdý (třeba z stabilky (normálně vytočit, prohnat na drátu hořákem a nakonec přebrousit na magnetce), šroubek v ose imbus 12.9 M2 - protože když tam pak nějakou jinou čínskou měkotu utrhneš, tak to můžeš celý vyhodit a to opravdu naxxre. Většina kotoučů (těch malých) má díru 1.8 (cca), takže na tu dvojku to musíš vydrtit tyčkou - ale furt je to lepší, než když originál s dírou 1.8 :roll: je na volno na blátivým šroubku 1,6, co má navíc stejně 1.52 přes vrcholy.
lapa
medaile za lepsi forum
Příspěvky: 3044
Registrován: 6. 5. 2009, 7:18
Bydliště: Praha

10. 12. 2023, 6:14

Sancho Panza píše: 10. 12. 2023, 1:40 .... Mj, do toho proxxoňáckýho "konce" vleze dozadu za díru pro kleštinu ještě i M4....
Rozumím tomu správně, že do toho volného místa v hřídelí sis vyrezal závit M4?
Protože jsem podíval do své přímé brusky Proxxon (mám jiný typ, krátký krk) a tam je vzadu cca 10 mm dlouhá díra o průměru cca 3.3 mm (tj. vešel se vrták 3.3), coz průměr jako dělaný pro závit M4...
Takže sis dorezal dovnitř hřídele závit M4? Nebo jsem špatně pochopil?
Kostka těžko vysvětlí úsečce, natož bodu, že život má i jiné dimenze než má ten jejich ...
Odpovědět

Zpět na „Jiné stroje - vrtačky, brusky, pily atd.“