MN80.-typy,rady,fotky

Vse o konvencnich strojich, nic o jejich prestavbe na cnc
Odpovědět
Uživatelský avatar
Francotirador
Příspěvky: 1172
Registrován: 27. 7. 2010, 8:04

8. 1. 2018, 9:49

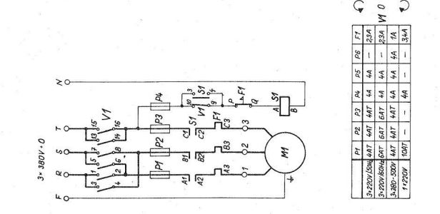
Poradíte někdo náhradu za originální vačkový vypínač k MN80A (dle CZ návodu typ VS 1009-503-010-C4-VS). Vyhledávač o tom původním typovém označení takticky mlčí :(
Díky
Přílohy
1.jpg
soustruh: TOS MN80A; obrážečka: TOS MS200N
frézka: klon Sieg X2; ostřička: Beiping PP-U3
testone
Sponzor fora
Příspěvky: 7547
Registrován: 3. 12. 2010, 5:56
Bydliště: Slaný

8. 1. 2018, 10:00

někde jsem tu dával kontakt na firmu, která poskládá přepínač na zakázku
ani to nebylo drahý
Obvykle se dějí věci obvyklé. Méně často se dějí věci neobvyklé a zcela vyjímečně se dějí věci vyjímečné...
Masturn 40 CNC, Hermle UWF1200H CNC a pár klasik
http://www.radialengine.cz" onclick="window.open(this.href);return false;
http://www.autopejsek.cz" onclick="window.open(this.href);return false;
Uživatelský avatar
salus
Příspěvky: 1528
Registrován: 1. 9. 2013, 1:30
Bydliště: Chrudimsko

8. 1. 2018, 10:25

Vačkové spínače na zakázku dělá firma Obzor Zlín.
Soustruh: S-28 Žebrák
Stolní vrtačka: TOS V10A
Pásová pila: G5013W/400
Uživatelský avatar
Francotirador
Příspěvky: 1172
Registrován: 27. 7. 2010, 8:04

8. 1. 2018, 10:45

Mám tomu rozumět tak, že katalogová náhrada spínače neexistuje?
Na jejich stránky http://www.obzor.cz" onclick="window.open(this.href);return false; právě koukám a … při snaze původní označení rozklíčovat jsem narazil na první nesrovnalost.
Pokud je C4 u originálu také úhel spínání, tak ve skutečnosti mám rozvaděč osazen nikoli 90° ale C8 tj. 45° :roll: tak je otázkou, zda sedí zbytek číselného označení.
I když jsem se na https://www.obzor.cz/cam-switch/" onclick="window.open(this.href);return false; snažil spínač nakonfigurovat (za pomoci https://www.obzor.cz/vyrobky/prumyslova ... pinace-vsn" onclick="window.open(this.href);return false; a https://www.obzor.cz/vyrobky/prumyslova ... pinace-vsr" onclick="window.open(this.href);return false;) nějak se mi nedaří :( prostě nemohu najít číselné označení typu schématu zapojení (spínání a rozepínání jednotlivých kontaktů) aby odpovídalo tabulce z návodu.
Přílohy
1.jpg
1.jpg (5.24 KiB) Zobrazeno 7537 x
soustruh: TOS MN80A; obrážečka: TOS MS200N
frézka: klon Sieg X2; ostřička: Beiping PP-U3
Uživatelský avatar
salus
Příspěvky: 1528
Registrován: 1. 9. 2013, 1:30
Bydliště: Chrudimsko

8. 1. 2018, 10:49

Ano rozumíš tomu dobře katalogová náhrada není. Je to tzv. zakázková výroba. Když jim pošleš schema spínání, udělají Ti to podle něj.
Soustruh: S-28 Žebrák
Stolní vrtačka: TOS V10A
Pásová pila: G5013W/400
Uživatelský avatar
elbarto
Příspěvky: 5453
Registrován: 22. 5. 2014, 10:27
Bydliště: Prague

8. 1. 2018, 10:54

Tyhle vackove vynalezy si lze poskladat dle potreby, driv jsem to delaval casto, ted uz jsem linej. Pro ovladani shora doporucuju misto hlavice dat tahlo (rozumne cca 100mm) na konci s kulickou.

http://www.abaservice.cz/stavebni-vytah ... reverzacni" onclick="window.open(this.href);return false;
Uživatelský avatar
Francotirador
Příspěvky: 1172
Registrován: 27. 7. 2010, 8:04

8. 1. 2018, 11:23

Našla by se prosím nějaká dobrá duše, která by byla ochotna zadání do https://www.obzor.cz/files/typ_produkty ... pinani.pdf" onclick="window.open(this.href);return false; vyplnit, tak aby odpovídalo tabulce v manuálu:
Jestli to chápu, tak bych pro třífázové zapojení poslední patro s 17 - 20 nepotřeboval - ale raději, ať je tam pro někoho s 220 (230) V připraveno.
Vrtá mi hlavou (mimo dalších pochybností) jak zamapovat (zakřížkovat) sepnutí 9 - 10.
Přílohy
P1040438.jpg
soustruh: TOS MN80A; obrážečka: TOS MS200N
frézka: klon Sieg X2; ostřička: Beiping PP-U3
berni
Příspěvky: 291
Registrován: 24. 11. 2012, 6:56
Bydliště: Brno, Boskovice

9. 1. 2018, 7:48

Jojo, TB-16 mám doma. Srovnání s klasickou MNkou nemám, na té jsem vlastně nikdy nedělal (pouze točil kličkou "nasucho")...ale věřím, že to bude tak jak je tu napsáno pár příspěvků dopředu-co kus to originál a těžko srovnávat. Ma moje TB-16 má kus života za sebou, ložiska už byla měněná předchozím majitelem (kdo a jak to dělal ale nevim), obouchaná, opotřebovaná, spíše už takový důchodce :c) ... Kleštinové upínání to nemá, ale vše co jsem potřeboval vytočit jsem si zatím vytočil (v mnou požadované přesnosti +/-). Ostatní příslušenstvý je použitelné z MNky, mám lunety, čtyřpaknovku stavitelnou, příruby na univerzály také z MNky (od Tumlíka), reduktor se vyřešil (řešeno zde na foru)...jen jedno ozubené kolo do základní sestavy je jiné o opět díky Tumlíkovi již v šupleti pod strojem. Když nad tím přemýšlím, koupil bych ji klidně znovu (cena byla pár roků nazpět 20t včetně kol, stavitelné čtyřpakny, druhé nožovky, koníka - možná moc, ale já jej prostě chtěl). Myslím si to možná proto, že jsem na MNce nědělal a kdybych na ni šáhnul, změnil bych názor, nevim. V současné době dodělávám garáž, kde chci umístit soustruh trochu větších rozměrů, řekněme rozměrově dvojnásobek MNky (cenu si idealizuji stropem 50-60 :), už ted lituji zdejší forum, to bude otázek... ), ale TB-16ku i tak pouštět nebudu a zůstane - asi už prostě přirostla k srdci. Tolik k předešlé diskusi.
east
Příspěvky: 104
Registrován: 31. 7. 2017, 12:06

23. 1. 2018, 9:39

Ahoj,

potreboval bych poradit ohledne MN80A a zapojeni elektriky.

Na zdi mam 380V - 4 kolik (modry nezapojen), ale snura od MN80A je petikolik, otazka zni, jak nejlepe prepojit, aby zustala puvodni MNkova elektroinstalace.

Dekuji moc !
Přílohy
ele.JPG
Uživatelský avatar
salus
Příspěvky: 1528
Registrován: 1. 9. 2013, 1:30
Bydliště: Chrudimsko

23. 1. 2018, 9:49

EDIT: Aby to zde někoho nedráždilo, tak jsem to smazal.
Naposledy upravil(a) salus dne 24. 1. 2018, 5:48, celkem upraveno 1 x.
Soustruh: S-28 Žebrák
Stolní vrtačka: TOS V10A
Pásová pila: G5013W/400
east
Příspěvky: 104
Registrován: 31. 7. 2017, 12:06

23. 1. 2018, 10:12

Dekuji ti moc :-), jinak 380V zasuvku mam mimo proudovy chranic.
atlan
Příspěvky: 3382
Registrován: 7. 2. 2011, 9:12

23. 1. 2018, 10:53

A nebolo by rozumnejsie a spravne osadit chranic a zapojit to tak ako sa ma?
Uživatelský avatar
Francotirador
Příspěvky: 1172
Registrován: 27. 7. 2010, 8:04

23. 1. 2018, 3:13

atlan píše:A nebolo by rozumnejsie a spravne osadit chranic a zapojit to tak ako sa ma?
To lze v případě, že má east stávající přívodní kabel k zásuvce pětivodičový - což možná i má podle "Na zdi mam 380V - 4 kolik (modry nezapojen)" to vypadá že v ní jeden vodič není zapojený. Pak by místo "4-kolíkové" zástrčky, koupil 5-kolíkovou zásuvku - to by nemusel být takový rozdíl v ceně.
soustruh: TOS MN80A; obrážečka: TOS MS200N
frézka: klon Sieg X2; ostřička: Beiping PP-U3
testone
Sponzor fora
Příspěvky: 7547
Registrován: 3. 12. 2010, 5:56
Bydliště: Slaný

23. 1. 2018, 3:28

Francotirador píše:
atlan píše:A nebolo by rozumnejsie a spravne osadit chranic a zapojit to tak ako sa ma?
To lze v případě, že má east stávající přívodní kabel k zásuvce pětivodičový - což možná i má podle "Na zdi mam 380V - 4 kolik (modry nezapojen)" to vypadá že v ní jeden vodič není zapojený. Pak by místo "4-kolíkové" zástrčky, koupil 5-kolíkovou zásuvku - to by nemusel být takový rozdíl v ceně.
otázka je, jestli je ten modrej drát zapojenej na druhý straně - v rozvaděči - bacha na to
Obvykle se dějí věci obvyklé. Méně často se dějí věci neobvyklé a zcela vyjímečně se dějí věci vyjímečné...
Masturn 40 CNC, Hermle UWF1200H CNC a pár klasik
http://www.radialengine.cz" onclick="window.open(this.href);return false;
http://www.autopejsek.cz" onclick="window.open(this.href);return false;
Uživatelský avatar
elbarto
Příspěvky: 5453
Registrován: 22. 5. 2014, 10:27
Bydliště: Prague

23. 1. 2018, 4:03

Tyhle experimenty opravdu nechapu, zastrcka stoji 65 kacek bez dane. Podle poctu dratu koupim zastrcku nebo upravim stroj. Starym hajtram je petivodic sit sumak.
Odpovědět

Zpět na „konvenční soustruhy“